Электронная библиотека
Форум - Здоровый образ жизни
Саморазвитие, Поиск книг Обсуждение прочитанных книг и статей,
Консультации специалистов:
Рэйки; Космоэнергетика; Биоэнергетика; Йога; Практическая Философия и Психология; Здоровое питание; В гостях у астролога; Осознанное существование; Фэн-Шуй; Вредные привычки Эзотерика

Начертательная геометрия

Начертательная геометрия


Оглавление

  • Лекция № 1. Сведения о проекциях
  •   1. Понятие проекций
  •   2. Центральная проекция
  •   3. Параллельная проекция
  • Лекция № 2. Точка
  •   1. Проекции точки на две плоскости проекций
  •   2. Отсутствие оси проекций
  •   3. Проекции точки на три плоскости проекций
  •   4. Координаты точки
  • Лекция № 3. Прямая
  •   1. Проекции прямой
  •   2. Следы прямой
  •   3. Различные положения прямой
  •   4. Взаимное расположение двух прямых
  •   5. Перпендикулярные прямые
  • Лекция № 4. Плоскость
  •   1. Определение положения плоскости
  •   2. Следы плоскости
  •   3. Прямая, лежащая в данной плоскости
  •   4. Горизонтали и фронтали плоскости
  •   5. Точка, лежащая в данной плоскости
  •   6. Построение следов плоскости
  •   7. Различные положения плоскости
  • Лекция № 5. Взаимное расположение прямых и плоскостей
  •   1. Взаимное расположение двух плоскостей
  •   2. Прямая, параллельная плоскости
  •   3. Прямая, пересекающая плоскость
  •   4. Прямая, перпендикулярная плоскости
  • Лекция № 6. Проекции геометрических тел
  •   1. Призма и пирамида
  •   3. Цилиндр и конус
  •   3. Шар, тор и кольцо
  • Лекция № 7. Расположение проекций в черчении
  •   1. Линии, применяемые в черчении
  •   2. Расположение видов (проекций)
  •   3. Отступление от приведенных правил расположения видов
  •   4. Число проекций, определяющих данное тело
  • Лекция № 8. Определение натуральных величин
  •   1. Вращение точки около оси, перпендикулярной плоскости проекций
  •   2. Определение натуральной величины отрезка путем вращения
  • Лекция № 9. Пересечение поверхности многогранника проецирующей плоскостью
  •   1. Общие понятия
  •   2. Призма
  •   3. Пирамида
  •   4. Косые сечения
  • Лекция № 10. Пересечение поверхностей тел вращения дважды проецирующей плоскостью
  •   1. Общие сведения
  •   2. Гипербола как сечение поверхности конуса фронтальной плоскостью
  • Лекция № 11. Пересечение поверхности тел вращения проецирующей плоскостью
  •   1. Сечение поверхности цилиндра
  •   2. Сечение поверхности конуса
  •   3. Сечение поверхности шара
  •   4. Косые сечения
  • Лекция № 12. Следы прямой на поверхности геометрических тел
  •   1. Пирамида
  •   2. Конус
  • Лекция № 13. Пространственные линии
  •   1. Цилиндрическая винтовая линия
  •   2. Два тела вращения
  • Лекция № 14. Сечения и разрезы
  •   1. Сечения
  •   2. Разрезы
  •   3. Частичный разрез или вырыв
  •   4. Простые и сложные разрезы
  • И. С. Козлова, Ю. В. Щербакова Начертательная геометрия. Конспект лекций

    Лекция № 1. Сведения о проекциях

    1. Понятие проекций

    Начертательной геометрией называют науку, которая является теоретическим фундаментом черчения. В данной науке изучаются способы изображения на плоскости различных тел и их элементов. Эти изображения позволяют однозначно определить форму и размеры изделия и изготовить его. При работе с чертежами выполняются два вида работ: подготовка чертежей и их чтение.

    Чтение чертежа заключается в воспроизведении в уме реальной формы объекта и некоторых его частей с использованием при этом чертежа.

    Начертательная геометрия основывается на методе проекций.

    Проекцией точки М на некоторой плоскости называют изображение, которое строится в нижеследующей последовательности (рис. 1).

    Через данную точку М необходимо провести прямую, которая не параллельна данной плоскости. Точку пересечения данной прямой и плоскости назовем точкой m. Полученная точка m будет являться проекцией точки М на данную плоскость. Прямую Mm называют проектирующей прямой, а данная плоскость называется плоскостью изображения.


    Подобным образом можно получить проекции различных фигур как проекции каждой из его точек. Способ построения определяет вид проекции: центральную или параллельную.

    2. Центральная проекция

    Представление о центральной проекции можно получить, если изучить изображение, которое дает человеческий глаз.

    Для построения центральной проекции объекта нужно между глазом и изучаемым предметом поместить прозрачный экран и отметить на нем точки пересечения лучей, которые идут от глаза человека к отдельным точкам предмета. При соединении всех точек на экране получаем изображение (проекцию) фигуры (рис. 2). Эта проекция называется центральной.


    Центральная проекция – это проекция, которая образуется с помощью проецирующихся лучей, проходящих через одну точку.

    Изображение предметов при помощи центральной проекции встречается очень часто, особенно для предметов, обладающих большими размерами.

    3. Параллельная проекция

    Параллельная проекция – это такой вид проекции, при построении которого используются параллельные проецирующиеся лучи.

    При построении параллельных проекций нужно задать направление проецирующих лучей (рис. 3). На данном примере в качестве направляющего луча выбран луч l. При построении изображений через все точки проводятся прямые, параллельные установленному направлению проецирования, до точки пересечения с плоскостью проекции. Соединяя полученные точки, получаем параллельную проекцию предмета.


    Параллельные проекции могут быть ортогональными или косоугольными в зависимости от направления проецирующих лучей.

    Проекция называется ортогональной, если проецирующий луч перпендикулярен плоскости.

    Проекция называется косоугольной, если угол наклона проецирующих лучей направлен относительно плоскости под углом, отличным от прямого.

    Изображение, полученное при помощи параллельной проекции, намного меньше искажено, чем изображение, полученное с помощью центральной проекции.

    Лекция № 2. Точка

    1. Проекции точки на две плоскости проекций

    Рассмотрим проекции точек на две плоскости, для чего возьмем две перпендикулярные плоскости (рис. 4), которые будем называть горизонтальной фронтальной и плоскостями. Линию пересечения данных плоскостей называют осью проекций. На рассмотренные плоскости спроецируем одну точку А с помощью плоской проекции. Для этого необходимо опустить из данной точки перпендикуляры Аа и A на рассмотренные плоскости.

    Проекцию на горизонтальную плоскость называют горизонтальной проекцией точки А, а проекцию а? на фронтальную плоскость называют фронтальной проекцией.


    Точки, которые подлежат проецированию, в начертательной геометрии принято обозначать с помощью больших латинских букв А, В, С. Для обозначения горизонтальных проекций точек применяют малые буквы а, b, с… Фронтальные проекции обозначают малыми буквами со штрихом вверху а?, b?, с?

    Применяется также и обозначение точек римскими цифрами I, II,… а для их проекций – арабскими цифрами 1, 2… и 1?, 2?…

    При повороте горизонтальной плоскости на 90° можно получить чертеж, в котором обе плоскости находятся в одной плоскости (рис. 5). Данная картина называется эпюром точки.


    Через перпендикулярные прямые Аа и Аа? проведем плоскость (рис. 4). Полученная плоскость является перпендикулярной фронтальной и горизонтальной плоскостям, потому что содержит перпендикуляры к этим плоскостям. Следовательно, данная плоскость перпендикулярна линии пересечения плоскостей. Полученная прямая пересекает горизонтальную плоскость по прямой аах, а фронтальную плоскость – по прямой а?ах. Прямые аах и а?ах являются перпендикулярными оси пересечения плоскостей. То есть Аааха? является прямоугольником.

    При совмещении горизонтальной и фронтальной плоскостей проекции а и а? будут лежать на одном перпендикуляре к оси пересечения плоскостей, так как при вращении горизонтальной плоскости перпендикулярность отрезков аах и а?ах не нарушится.

    Получаем, что на эпюре проекции а и а? некоторой точки А всегда лежат на одном перпендикуляре к оси пересечения плоскостей.

    Две проекции а и а? некоторой точки А могут однозначно определить ее положение в пространстве (рис. 4). Это подтверждается тем, что при построении перпендикуляра из проекции а к горизонтальной плоскости он пройдет через точку А. Точно так же перпендикуляр из проекции а? к фронтальной плоскости пройдет через точку А, т. е. точка А находится одновременно на двух определенных прямых. Точка А является их точкой пересечения, т. е. является определенной.

    Рассмотрим прямоугольник Aaaха? (рис. 5), для которого справедливы следующие утверждения:

    1) Расстояние точки А от фронтальной плоскости равно расстоянию ее горизонтальной проекции а от оси пересечения плоскостей, т. е.

    Аа? = аах;

    2) расстояние точки А от горизонтальной плоскости проекций равно расстоянию ее фронтальной проекции а? от оси пересечения плоскостей, т. е.

    Аа = а?ах.

    Иначе говоря, даже без самой точки на эпюре, используя только две ее проекции, можно узнать, на каком расстоянии от каждой из плоскостей проекций находится данная точка.

    Пересечение двух плоскостей проекций разделяет пространство на четыре части, которые называют четвертями (рис. 6).

    Ось пересечения плоскостей делит горизонтальную плоскость на две четверти – переднюю и заднюю, а фронтальную плоскость – на верхнюю и нижнюю четверти. Верхнюю часть фронтальной плоскости и переднюю часть горизонтальной плоскости рассматривают как границы первой четверти.


    При получении эпюра вращается горизонтальная плоскость и совмещается с фронтальной плоскостью (рис. 7). В этом случае передняя часть горизонтальной плоскости совпадет с нижней частью фронтальной плоскости, а задняя часть горизонтальной плоскости – с верхней частью фронтальной плоскости.


    На рисунках 8-11 показаны точки А, В, С, D, располагающиеся в различных четвертях пространства. Точка А расположена в первой четверти, точка В – во второй, точка С – в третьей и точка D – в четвертой.


    При расположении точек в первой или четвертой четвертях их горизонтальные проекции находятся на передней части горизонтальной плоскости, а на эпюре они лягут ниже оси пересечения плоскостей. Когда точка расположена во второй или третьей четверти, ее горизонтальная проекция будет лежать на задней части горизонтальной плоскости, а на эпюре будет находиться выше оси пересечения плоскостей.


    Фронтальные проекции точек, которые расположены в первой или второй четвертях, будут лежать на верхней части фронтальной плоскости, а на эпюре будут находиться выше оси пересечения плоскостей. Когда точка расположена в третьей или четвертой четверти, ее фронтальная проекция – ниже оси пересечения плоскостей.

    Чаще всего при реальных построениях фигуру располагают в первой четверти пространства.

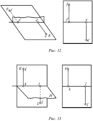
    В некоторых частных случаях точка (Е) может лежать на горизонтальной плоскости (рис. 12). В этом случае ее горизонтальная проекция е и сама точка будут совпадать. Фронтальная проекция такой точки будет находиться на оси пересечения плоскостей.

    В случае, когда точка К лежит на фронтальной плоскости (рис. 13), ее горизонтальная проекция k лежит на оси пересечения плоскостей, а фронтальная k? показывает фактическое местонахождение этой точки.


    Для подобных точек признаком того, что она лежит на одной из плоскостей проекций, служит то, что одна ее проекция находится на оси пересечения плоскостей.

    Если точка лежит на оси пересечения плоскостей проекций, она и обе ее проекции совпадают.

    Когда точка не лежит на плоскостях проекций, она называется точкой общего положения. В дальнейшем, если нет особых отметок, рассматриваемая точка является точкой общего положения.

    2. Отсутствие оси проекций

    Для пояснения получения на модели проекций точки на перпендикулярные плоскости проекций (рис. 4) необходимо взять кусок плотной бумаги в форме удлиненного прямоугольника. Его нужно согнуть между проекциями. Линия сгиба будет изображать ось пересечения плоскостей. Если после этого согнутый кусок бумаги вновь расправить, получим эпюр, похожий на тот, что изображен на рисунке.

    Совмещая две плоскости проекций с плоскостью чертежа, можно не показывать линию сгиба, т. е. не проводить на эпюре ось пересечения плоскостей.

    При построениях на эпюре всегда следует располагать проекции а и а? точки А на одной вертикальной прямой (рис. 14), которая перпендикулярна оси пересечения плоскостей. Поэтому, даже если положение оси пересечения плоскостей остается неопределенным, но ее направление определено, ось пересечения плоскостей может находиться на эпюре только перпендикулярно прямой аа?.


    Если на эпюре точки нет оси проекций, как на первом рисунке 14 а, можно представить положение этой точки в пространстве. Для этого проведем в любом месте перпендикулярно прямой аа? ось проекции, как на втором рисунке (рис. 14) и согнем чертеж по этой оси. Если восстановить перпендикуляры в точках а и а? до их пересечения, можно получить точку А. При изменении положения оси проекций получаются различные положения точки относительно плоскостей проекций, но неопределенность положения оси проекций не влияет на взаимное расположение нескольких точек или фигур в пространстве.

    3. Проекции точки на три плоскости проекций

    Рассмотрим профильную плоскость проекций. Проекции на две перпендикулярные плоскости обычно определяют положение фигуры и дают возможность узнать ее настоящие размеры и форму. Но бывают случаи, когда двух проекций оказывается недостаточно. Тогда применяют построение третьей проекции.

    Третью плоскость проекции проводят так, чтобы она была перпендикулярна одновременно обеим плоскостям проекций (рис. 15). Третью плоскость принято называть профильной.

    В таких построениях общую прямую горизонтальной и фронтальной плоскостей называют осью х, общую прямую горизонтальной и профильной плоскостей – осью у, а общую прямую фронтальной и профильной плоскостей – осью z. Точка О, которая принадлежит всем трем плоскостям, называется точкой начала координат.


    На рисунке 15а показана точка А и три ее проекции. Проекцию на профильную плоскость (а??) называют профильной проекцией и обозначают а??.

    Для получения эпюра точки А, которая состоит из трех проекций а, а а, необходимо разрезать трехгранник, образующийся всеми плоскостями, вдоль оси у (рис. 15б) и совместить все эти плоскости с плоскостью фронтальной проекции. Горизонтальную плоскость необходимо вращать около оси х, а профильную плоскость – около оси z в направлении, указанном на рисунке 15 стрелкой.

    На рисунке 16 изображено положение проекций а, а? и а?? точки А, полученное в результате совмещения всех трех плоскостей с плоскостью чертежа.

    В результате разреза ось у встречается на эпюре в двух различных местах. На горизонтальной плоскости (рис. 16) она принимает вертикальное положение (перпендикулярно оси х), а на профильной плоскости – горизонтальное (перпендикулярно оси z).


    На рисунке 16 три проекции а, а? и а?? точки А имеют на эпюре строго определенное положение и подчинены однозначным условиям:

    1) горизонтальная и фронтальная проекции а и а? всегда должны располагаться на одной вертикальной прямой, перпендикулярной оси х;

    2) фронтальная и профильная проекции а? и а?? всегда должны располагаться на одной горизонтальной прямой, перпендикулярной оси z;

    3) при проведении через горизонтальную проекцию а горизонтальной прямой, а через профильную проекцию а??– вертикальной прямой построенные прямые обязательно пересекутся на биссектрисе угла между осями проекций, так как фигура Оауа0ан – квадрат.

    При выполнении построения трех проекций точки нужно проверять выполняемость всех трех условий для каждой точки.

    4. Координаты точки

    Положение точки в пространстве может быть определено с помощью трех чисел, называемых ее координатами. Каждой координате соответствует расстояние точки от какой-нибудь плоскости проекций.

    Расстояние определяемой точки А до профильной плоскости является координатой х, при этом х = а?А (рис. 15), расстояние до фронтальной плоскости – координатой у, причем у = а?А, а расстояние до горизонтальной плоскости – координатой z, при этом z = aA.

    На рисунке 15 точка А занимает ширину прямоугольного параллелепипеда, и измерения этого параллелепипеда соответствуют координатам этой точки, т. е., каждая из координат представлена на рисунке 15 четыре раза, т. е.:

    х = а?А = Оах = ауа = aza?;

    y = а?А = Оаy = аxа = аzа?;

    z = aA = Oaz = аxа? = аyа?.

    На эпюре (рис. 16) координаты х и z встречаются по три раза:

    х = аzа ?= Оаx = аyа,

    z = аxa? = Oaz = аyа?.

    Все отрезки, которые соответствуют координате х (или z), являются параллельными между собой. Координата у два раза представлена осью, расположенной вертикально:

    y = Оау = аха

    и два раза – расположенной горизонтально:

    у = Оау = аzа?.

    Данное различие появилось из-за того, что ось у присутствует на эпюре в двух различных положениях.

    Следует учесть, что положение каждой проекции определяется на эпюре только двумя координатами, а именно:

    1) горизонтальной – координатами х и у,

    2) фронтальной – координатами x и z,

    3) профильной – координатами у и z.

    Используя координаты х, у и z, можно построить проекции точки на эпюре.

    Если точка А задается координатами, их запись определяется так: А (х; у; z).

    При построении проекций точки А нужно проверять выполняемость следующих условий:

    1) горизонтальная и фронтальная проекции а и а? должны располагаться на одном перпендикуляре к оси х, так как имеют общую координату х;

    2) фронтальная и профильная проекции а? и а? должны располагаться на одном перпендикуляре к оси z, так как имеют общую координату z;

    3) горизонтальная проекция а так же удалена от оси х, как и профильная проекция а удалена от оси z, так как проекции а? и а? имеют общую координату у.

    В случае, если точка лежит в любой из плоскостей проекций, то одна из ее координат равна нулю.

    Когда точка лежит на оси проекций, две ее координаты равны нулю.

    Если точка лежит в начале координат, все три ее координаты равны нулю.

    Лекция № 3. Прямая

    1. Проекции прямой

    Для определения прямой необходимы две точки. Точку определяют две проекции на горизонтальную и фронтальную плоскости, т. е. прямая определяется с помощью проекций двух своих точек на горизонтальной и фронтальной плоскостях.

    На рисунке 17 показаны проекции (а и a?, b и b?) двух точек А и В. С их помощью определяется положение некоторой прямой АВ. При соединении одноименных проекций этих точек (т. е. а и b, а? и b?) можно получить проекции аb и а?b? прямой АВ.


    На рисунке 18 показаны проекции обеих точек, а на рисунке 19 – проекции проходящей через них прямой линии.

    Если проекции прямой определяются проекциями двух ее точек, то они обозначаются двумя рядом поставленными латинскими буквами, соответствующими обозначениям проекций точек, взятых на прямой: со штрихами для обозначения фронтальной проекции прямой или без штрихов – для горизонтальной проекции.

    Если рассматривать не отдельные точки прямой, а ее проекции в целом, то данные проекции обозначаются цифрами.

    Если некоторая точка С лежит на прямой АВ, ее проекции с и с? находятся на одноименных проекциях прямой ab и а?b?. Данную ситуацию поясняет рисунок 19.

    2. Следы прямой

    След прямой – это точка пересечения ее с некоторой плоскостью или поверхностью (рис. 20).

    Горизонтальным следом прямой называется некоторая точка H, в которой прямая встречается с горизонтальной плоскостью, а фронтальным – точка V, в которой данная прямая встречается с фронтальной плоскостью (рис. 20).

    На рисунке 21а изображен горизонтальный след прямой, а ее фронтальный след, – на рисунке 21б.


    Иногда также рассматривается профильный след прямой, W – точка пересечения прямой с профильной плоскостью.

    Горизонтальный след находится в горизонтальной плоскости, т. е. его горизонтальная проекция h совпадает с этим следом, а фронтальная h? лежит на оси х. Фронтальный след лежит во фронтальной плоскости, поэтому его фронтальная проекция ?? совпадает с ним же, а горизонтальная v лежит на оси х.

    Итак, H = h, и V = ??. Следовательно, для обозначения следов прямой можно применять буквы h и ??.

    3. Различные положения прямой

    Прямую называют прямой общего положения, если она не параллельна и не перпендикулярна ни одной плоскости проекций. Проекции прямой общего положения тоже не параллельны и не перпендикулярны осям проекций.

    Прямые, которые параллельны одной из плоскостей проекций (перпендикулярны одной из осей). На рисунке 22 показана прямая, которая параллельна горизонтальной плоскости (перпендикулярная оси z), – горизонтальная прямая; на рисунке 23 показана прямая, которая параллельна фронтальной плоскости (перпендикулярна оси у), – фронтальная прямая; на рисунке 24 показана прямая, которая параллельна профильной плоскости (перпендикулярна оси х), – профильная прямая. Несмотря на то что каждая из данных прямых образует с одной из осей прямой угол, они не пересекают ее, а только скрещиваются с нею.


    Из-за того что горизонтальная прямая (рис. 22) параллельна горизонтальной плоскости, ее фронтальная и профильная проекции будут параллельны осям, определяющим горизонтальную плоскость, т. е. осям х и у. Поэтому проекции a?b?|| х и a?b?|| у, т. е. они перпендикулярны оси z. Горизонтальная проекция ab может занимать любое положение на эпюре.


    У фронтальной прямой (рис. 23) проекции аb || x и a?b? || z, т. е. они перпендикулярны оси у, а потому в этом случае фронтальная проекция а?b? прямой может занимать произвольное положение.

    У профильной прямой (рис. 24) аb || у, а?b|| z, и обе они перпендикулярны оси х. Проекция а?b? может располагаться на эпюре любым образом.

    При рассмотрении той плоскости, которая проецирует горизонтальную прямую на фронтальную плоскость (рис. 22), можно заметить, что она проецирует эту прямую и на профильную плоскость, т. е. она является плоскостью, которая проецирует прямую сразу на две плоскости проекций – фронтальную и профильную. Исходя из этого ее называют дважды проецирующей плоскостью. Таким же образом для фронтальной прямой (рис. 23) дважды проецирующая плоскость проецирует ее на плоскости горизонтальной и профильной проекций, а для профильной (рис. 23) – на плоскости горизонтальной и фронтальной проекций.

    Две проекции не могут определить прямую. Две проекции 1 и 1? профильной прямой (рис. 25) без уточнения на них проекций двух точек этой прямой не определят положения данной прямой в пространстве.


    В плоскости, которая перпендикулярна двум заданным плоскостям симметрии, возможно существование бесчисленного множество прямых, для которых данные на эпюре 1 и 1? являются их проекциями.

    Если точка находится на прямой, то ее проекции во всех случаях лежат на одноименных проекциях этой прямой. Обратное положение не всегда справедливо для профильной прямой. На ее проекциях можно произвольным образом указать проекции определенной точки и не быть уверенным в том, что эта точка лежит на данной прямой.

    Во всех трех частных случаях (рис. 22, 23 и 24) положения прямой по отношению к плоскости проекций произвольный ее отрезок АВ, взятый на каждой из прямых, проецируется на одну из плоскостей проекций без искажения, т. е. на ту плоскость, которой он параллелен. Отрезок АВ горизонтальной прямой (рис. 22) дает проекцию в натуральную величину на горизонтальную плоскость (аb = АВ); отрезок АВ фронтальной прямой (рис. 23) – в натуральную величину на плоскость фронтальной плоскости V (a?b? = AB) и отрезок АВ профильной прямой (рис. 24) – в натуральную величину на профильную плоскость W (a?b? = АВ), т. е. представляется возможным измерить на чертеже натуральную величину отрезка.

    Иначе говоря, с помощью эпюр можно определить натуральные размеры углов, которые рассматриваемая прямая образует с плоскостями проекций.

    Угол, который составляет прямая с горизонтальной плос костью Н, принято обозначать буквой ?, с фронтальной плоскостью – буквой ?, с профильной плоскостью – буквой ?.

    Любая из рассматриваемых прямых не имеет следа на параллельной ей плоскости, т. е. горизонтальная прямая не имеет горизонтального следа (рис. 22), фронтальная прямая не имеет фронтального следа (рис. 23), а профильная прямая – профильного следа (рис. 24).

    4. Взаимное расположение двух прямых

    Возможны три случая расположения прямых в пространстве:

    1) прямые пресекаются, т. е. имеют общую точку;

    2) прямые параллельны, т. е. не имеют общей точки, но лежат в одной плоскости;

    3) прямые скрещиваются, т. е. не лежат в одной плоскости, т. е. через них нельзя провести плоскость.

    Когда прямые пересекаются, на эпюре точки пересечения их одноименных проекций на горизонтальной и фронтальной плоскостях находятся на одном перпендикуляре к оси х.

    Рассмотрим прямые I и II, которые пересекаются в точке А (рис. 26). Спроецируем обе прямые на горизонтальную плоскость. Если учесть, что точка А принадлежит обеим прямым, то ее проекция а будет принадлежать также и обеим проекциям прямых.


    Похожая картина будет и на фронтальной плоскости, т. е. эти точки пересечения одноименных проекций а и а? являются проекциями некоторой точки А, и поэтому они должны лежать на одном перпендикуляре к оси х. Точно так же будет верным и обратное утверждение: если на эпюре точки пересечения одноименных проекций прямых на две плоскости (горизонтальную и фронтальную) лежат на одном перпендикуляре к оси х, то эти прямые пересекаются.

    Пусть проекции прямых I к II (рис. 27) подчиняются этому условию.


    Тогда точки пересечения их одноименных проекций можно рассматривають как проекции некоторой точки в пространстве. Обозначим точку пересечения горизонтальных проекций 1 и 2 буквой а, а точку пересечения фронтальных проекций 1? и 2? – буквой а?. Рассматриваемая точка А находится и на прямой I, и на прямой II. То есть она является их общей точкой, в которой пересекаются эти прямые.

    Прямое утверждение справедливо во всех случаях без исключения. Обратное же утверждение неприменимо в том случае, если хотя бы одна из прямых профильная.

    Когда прямые параллельны, на эпюре их одноименные проекции параллельны (рис. 28).


    На самом деле, плоскости Р и Q, проецирующие прямые I и II на горизонтальную плоскость, параллельны, так как в каждой из этих плоскостей можно указать две пересекающиеся прямые, параллельные двум пересекающимся прямым второй плоскости, т. е. прямая I параллельна прямой II, и проектирующий луч Аа параллелен лучу Вb. Но две параллельные плоскости Р и Q пересекут горизонтальную плоскость. В результате этого образуются две параллельные прямые 1 и 2, т. е. горизонтальные проекции прямых I и II параллельны между собой.

    Аналогично можно доказать, что и любые другие одноименные проекции обеих прямых также будут параллельны друг другу.

    Верно и обратное утверждение: прямые параллельны, если на эпюре их одноименные проекции параллельны.


    Если известно, что горизонтальные и фронтальные проекции прямых I и II параллельны, будет справедливо следующее: 1 || 2 и 1?|| 2? (рис. 29).

    В этом случае можно сказать, что плоскости РI и РII, проецирующие прямые I и II на горизонтальную плоскость, параллельны, так как в этих плоскостях можно указать по паре пересекающихся соответственно параллельных прямых (прямые 1 и 2 и проецирующие лучи). Аналогично плоскости QI и QII будут параллельны.

    Прямая I находится в пересечении плоскостей РI и QI, а прямая II – в пересечении плоскостей РII QII. Отсюда получаем, что прямая I параллельна плоскости РII, потому что находится в плоскости, ей параллельной. Однако прямая I параллельна и плоскости QII. Поэтому прямая I параллельна линии пересечения плоскостей РII и QII, т. е. прямой II.


    Доказательство обратного утверждения не имеет смысла для профильных прямых. Это объясняется тем, что тогда вместо двух плоскостей, проецирующих прямую на горизонтальную и фронтальную плоскости, существует только одна, дважды проецирующая плоскость (рис. 30).

    Видно, что вне зависимости от расположения двух профильных прямых I и II в пространстве их горизонтальные и фронтальные проекции всегда параллельны (или сливаются).

    Прямые будут являться скрещивающимися, если они не параллельны и не пересекаются. Это вытекает из того, что возможны только три случая взаимного расположения прямых.

    Для скрещивающихся прямых справедливы утверждения:

    1) точки пересечения одноименных проекций на горизонтальной и фронтальной плоскостях не лежат на одном перпендикуляре к оси х (прямые I и II на рис. 31).

    2) хотя бы в одной паре одноименные проекции не параллельны (прямые III и IV на рис. 31).

    Рисунок 31 показывает проекции четырех прямых, любая пара из которых скрещивается.

    Как и в рассмотренных ранее случаях, обратное утверждение для скрещивающихся прямых несправедливо при условии, что хотя бы одна из прямых является профильной.

    5. Перпендикулярные прямые

    Рассмотрим теорему: если одна сторона прямого угла параллельна плоскости проекций (или лежит в ней), то прямой угол проецируется на эту плоскость без искажения.

    Приведем доказательство для прямого угла ABC, одна сторона которого ВС параллельна горизонтальной плоскости (рис. 32).


    Плоскость, в которой находится сторона угла АВ и ее проекция ab, перпендикулярна горизонтальной плоскости, так как содержит перпендикуляр Вb к этой плоскости. Прямая ВС перпендикулярна плоскости Q вследствие ее перпендикулярности двум пересекающимся прямым этой плоскости (АВ и Вb). Прямая bc параллельна ВС, т. е. она также перпендикулярна Q, а значит и прямой ab, которая лежит в ней.

    Ясно, что если на эпюре одна пара одноименных проекций двух прямых перпендикулярна, а одна из двух остальных проекций параллельна оси х, то такие прямые образуют в пространстве прямой угол.

    Предположим, что ab ?bc, b?с? || x.

    Это показано на рисунке 33.

    Можно провести через проекцию аb плоскость Q, проектирующую прямую АВ на горизонтальную плоскость (рис. 33). Проекция перпендикулярна плоскости Q вследствие того, что она перпендикулярна двум прямым этой плоскости, т. е. проекции аb (по условию), и проецирующему лучу Вb как перпендикуляру горизонтальной плоскости.


    Прямая ВС является параллельной горизонтальной плоскости, так как ее фронтальная проекция параллельна оси х, поэтому она параллельна своей горизонтальной проекции, т. е. справедливо выражение ВС || . Следовательно, прямая ВС перпендикулярна плоскости Q и поэтому перпендикулярна прямой АВ вне зависимости от ее положения в плоскости Q.

    Через некоторую точку М можно провести огромное количество прямых, которые перпендикулярны данной прямой АВ. Они образуют целую плоскость Р, перпендикулярную АВ (рис. 34).

    Из всех перпендикулярных прямых, которые при этом образуются, только одна пересекает данную прямую. Это прямая MN, которая проходит через точку N пересечения прямой АВ и плоскости Р.

    Под перпендикуляром к прямой подразумевается прямая, не только перпендикулярная данной прямой, но и пересекающая в отличие от просто перпендикулярных скрещивающиеся прямые.

    Прямой угол между скрещивающимися прямыми проецируется на данную плоскость проекций без искажения, если одна из прямых параллельна этой плоскости или лежит в ней.

    Лекция № 4. Плоскость

    1. Определение положения плоскости

    Для произвольно расположенной плоскости проекции ее точек заполняют все три плоскости проекций. Поэтому не имеет смысла говорить о проекции всей плоскости целиком, нужно рассматривать лишь проекции таких элементов плоскости, которые ее определяют.

    На основании законов стереометрии плоскость определяется, когда известны принадлежащие ей:

    1) три точки, не лежащие на одной прямой;

    2) прямая и точка, не находящаяся на этой прямой;

    3) две пересекающиеся прямые;

    4) две параллельные прямые.

    Итак, плоскость будет считаться заданной, если имеется на эпюре одна из перечисленных выше комбинаций элементов, определяющих данную плоскость (рис. 35 случаи 1, 2, 3, 4).

    Все четыре способа задания плоскости равнозначны, так как легко имея одну комбинацию элементов, изображенную на рисунке 35 перейти к любой другой.


    Если соединить одноименные проекции трех точек А, В и С, определяющих данную плоскость (рис. 35, случай 5), можно получить проекции треугольника ABC, лежащего в этой плоскости. Способ изображения плоскости в виде треугольника, не является принципиально новым, но обладает по сравнению с остальными четырьмя случаями большей наглядностью.

    2. Следы плоскости

    След плоскости Р – это линия пересечения ее с данной плоскостью или поверхностью (рис. 36).

    Линию пересечения плоскости Р с горизонтальной плоскостью называют горизонтальным следом и обозначают Ph, а линию пересечения с фронтальной плоскостью – фронтальным следом и обозначают Рv (рис. 37).


    Иногда применяется и профильный след Pw – линия пересечения данной плоскости с профильной плоскостью.

    Точки, в которых пересекается плоскость Р с осями проекций, называют точками схода следов. Рх – точка схода следов на оси х, Pу – на оси у, а Рz – на оси z (рис. 37). в точке Р пересекаются следы Ph и Pv и т. д.

    Следы Ph и Pv плоскости Р являются прямыми, которые и лежат на горизонтальной и фронтальной плоскостях. Они имеют по одной из своих проекций, которые совпадают с осью х: горизонтальный след Ph – фронтальную, а фронтальный Pv– горизонтальную проекции.

    Любую плоскость Р можно задать на эпюре с помощью указания положения двух ее следов – горизонтального и фронтального (рис. 38).


    Следы Ph и Pv чаще всего изображаются парой пересекающихся или параллельных прямых и поэтому могут определять положение плоскости в пространстве.

    3. Прямая, лежащая в данной плоскости

    Прямая принадлежит плоскости Р в том случае, если любые две ее точки лежат в данной плоскости.

    Например, если следы прямой лежат на одноименных следах плоскости, то прямая лежит в этой плоскости (рис. 39).

    Рассмотрим построение прямой, лежащей в данной плоскости Р.

    Первый способ. Возьмем на следах Ph и Pv по одной точке (рис. 40) и рассмотрим их как следы искомой прямой.

    Рассматривая следы прямой, легко построить ее проекции.

    Второй способ. Одну проекцию прямой, например горизонтальную 1, можно провести (рис. 40). Точки ее пересечения со следом Ph и осью х определят горизонтальные проекции h и v следов искомой прямой. Если соединить прямой фронтальные проекции h? и v? следов, можно получить фронтальную проекцию 1?.

    4. Горизонтали и фронтали плоскости

    Среди прямых, которые лежат в некоторой плоскости, можно выделить два класса прямых, играющих большую роль при решении всевозможных задач. Это прямые, которые называют горизонталями и фронталями.

    Горизонталь плоскости Р (рис. 41) – прямая, которая лежит в этой плоскости и параллельна горизонтальной плоскости. Горизонталь как прямая, параллельная горизонтальной плоскости, имеет фронтальную проекцию г?, параллельную оси х.


    Три прямые – горизонталь Г, ее горизонтальная проекция г и горизонтальный след Ph плоскости Р – параллельны (рис. 42).

    Действительно, горизонталь является прямой, параллельной горизонтальной плоскости, и поэтому не имеет горизонтального следа Ph, лежащего с ней в одной плоскости. При этом горизонталь Г не может пересечь свою горизонтальную проекцию г. В противном случае в этой точке пересечения она встречала бы горизонтальную плоскость, что противоречит определению, т. е. все три прямые Г, г и Ph параллельны.

    Любая из плоскостей имеет множество горизонталей. Все горизонтали этой плоскости параллельны друг другу вследствие того, что все они параллельны прямой Ph.


    Фронталь плоскости Р – прямая, которая лежит в этой плоскости и параллельна фронтальной плоскости (рис. 43).

    Фронталь является прямой, параллельной фронтальной плоскости, и ее горизонтальная проекция ф параллельна оси х.

    Фронталь Ф, ее фронтальная проекция ф? и фронтальный след Pv взаимно параллельны. У каждой плоскости есть бесчисленное множество фронталей. Все фронтали данной плоскости параллельны, за исключением плоскости, параллельной фронтальной плоскости.

    5. Точка, лежащая в данной плоскости

    Если необходимо построить некоторую точку в данной плоскости Р, то нужно предварительно провести в этой плоскости одну из прямых и на ней взять искомую точку.

    Если задача обратная, т. е. необходимо узнать, лежит ли данная точка в плоскости Р, то нужно провести через эту точку какую-нибудь прямую, лежащую в этой плоскости. Если такую прямую провести нельзя, то исследуемая точка М не лежит в плоскости Р.

    Часто в качестве вспомогательной прямой применяют горизонталь или фронталь, хотя можно применять и прямые общего положения.

    Покажем построение в плоскости Р произвольной точки (рис. 44).


    Для выполнения задания необходимо провести любую горизонталь Г этой плоскости и на ней выбрать некоторую точку М. Данная точка принадлежит плоскости, следовательно, задача выполнена.

    6. Построение следов плоскости

    Рассмотрим построение следов плоскости Р, которая задана парой пересекающихся прямых I и II (рис. 45).

    Если прямая находится на плоскости Р, то ее следы лежат на одноименных следах плоскости. Поэтому следы плоскости, которые необходимо найти, должны проходить через одноименные следы всех прямых, находящихся в этой плоскости, т. е. находим следы обеих прямых I и II. Соединив их горизонтальные следы h1 и h2, можно получить горизонтальный след Ph плоскости Р, а если соединить фронтальные v?1, и v?2, можно получить фронтальный след Pv.


    Оба следа Ph и Р должны пересекаться на оси х в точке схода Рх или оказаться одновременно ей параллельными. Таким способом осуществляется проверка правильности построения, т. е. для построения следов плоскости возможно ограничиться нахождением любых трех следов двух прямых, определяющих плоскость.

    7. Различные положения плоскости

    Плоскостью общего положения называется плоскость, не параллельная и не перпендикулярная ни одной плоскости проекций. Следы такой плоскости также не параллельны и не перпендикулярны осям проекций.

    Проецирующие плоскости – это плоскости, которые перпендикулярны одной, и только одной, плоскости проекций.

    На рисунке 46 показана горизонтально-проектирующая плоскость Р, которая перпендикулярна горизонтальной плоскости; на рисунке 47 – фронтально-проектирующая плоскость Q, которая перпендикулярна фронтальной плоскости, и на рисунке 48 – профильно-проектирующая плоскость R, которая перпендикулярна профильной плоскости.


    Среди свойств проецирующих плоскостей можно выделить следующие.

    1. На одну из плоскостей проекций, т. е. на ту, которой данная плоскость перпендикулярна, эта плоскость проецируется в виде прямой линии. В этом случае говорят о проекции плоскости, подразумевая под ней именно эту прямую. Горизонтальнопроектирующая плоскость Р имеет горизонтальную проекцию р (рис. 46), фронтально-проецирующая плоскость Q – фронтальную проекцию q? (рис. 47), а профильно-проецирующая R – профильную проекцию r? (рис. 48). Данные проекции совпадают с одноименными следами плоскостей, т. е. p = Ph (рис. 46), q? = Qv (рис. 47) и r? = Rw (рис. 48).


    2. Любая фигура, которая лежит в проецирующей плоскости, проецируется в виде отрезка прямой на плоскость проекций, перпендикулярную данной плоскости, т. е. треугольник ABC, который лежит в плоскости Р (рис. 46), имеет горизонтальную проекцию abc на горизонтальной проекции плоскости Р (р = Ph).

    3. Фронтали горизонтально-проецирующей плоскости Р (рис. 47) перпендикулярны горизонтальной плоскости, а горизонтали фронтально-проектирующей плоскости Q (рис. 47) перпендикулярны фронтальной плоскости, т. е. перпендикулярность фронталей горизонтальной плоскости определяет горизонтально-проектирующую плоскость, а перпендикулярность горизонталей фронтальной плоскости является признаком фронтально-проектирующей плоскости. Профильно-проектирующая плоскость Р (рис. 47) имеет горизонтали, которые являются одновременно и фронталями; те и другие в этом случае перпендикулярны профильной плоскости.


    4. Горизонтально-проектирующая плоскость Р параллельна оси z, поэтому ее следы Рv и Pw также являются параллельными оси z. Фронтально-проектирующая плоскость Q параллельна оси у, поэтому Qh и Qw параллельны оси у. Профильно-проектирующая плоскость R параллельна оси х, и ее следы Rh и Rvпараллельны оси х. Третьи следы этих плоскостей, а именно Ph, Qv и Rw, способны занимать любое положение относительно осей проекций в зависимости от углов наклона этих плоскостей к плоскостям проекций.

    5. Проектирующие плоскости с плоскостями проекции образуют углы, размеры которых видны на эпюре. На рисунках 46, 47 и 48 обозначен буквой угол между проектирующей плоскостью и горизонтальной плоскостью, буквой – угол с фронтальной плоскостью и буквой – с профильной плоскостью. Важно, что для данных плоскостей один из этих углов обязательно прямой, а два остальных угла составляют в сумме 90°. Данные два угла на эпюре равны углам, которые образуются следами плоскости с осями проекций.


    Рассмотрим плоскость, которая содержит ось х. Эта плоскость (рис. 49) принадлежит к числу профильно-проектирующих; она перпендикулярна профильной плоскости W, так как содержит ось х.

    При этом горизонтальный и фронтальный следы Rh и Rv сливаются с осью х и не определяют положения плоскости R в пространстве. Для определения плоскости нужно дополнительно задать ее профильную проекцию r? (r? = Rw) (рис. 49) или указать положение какой-либо точки А на этой плоскости (рис. 49).

    Лекция № 5. Взаимное расположение прямых и плоскостей

    1. Взаимное расположение двух плоскостей

    Для двух плоскостей возможны следующие варианты взаимного расположения: они параллельны или пересекаются по прямой линии.

    Из стереометрии известно, что две плоскости параллельны, если две пересекающиеся прямые одной плоскости соответственно параллельны двум пересекающимся прямым другой плоскости. Это условие называют признаком параллельности плоскостей.

    Если две плоскости являются параллельными, то они пересекают какую-то третью плоскость по параллельным прямым. Исходя из этого у параллельных плоскостей Р и Q их следы являются параллельными прямыми (рис. 50).


    В случае, когда две плоскости Р и Q параллельны оси х, их горизонтальные и фронтальные следы при произвольном взаимном расположении плоскостей будут параллельными оси х, т. е. взаимно параллельными. Следовательно, при таких условиях параллельность следов является достаточным признаком, характеризующим параллельность самих плоскостей. Для параллельности подобных плоскостей нужно убедиться в параллельности и профильных их следов Pw и Qw. Плоскости Р и Q на рисунке 51 параллельны, а на рисунке 52 они не параллельны, несмотря на то что Pv || Qv, и Ph у || Qh.


    В случае, когда плоскости параллельны, горизонтали одной плоскости параллельны горизонталям другой. Фронтали одной плоскости при этом должны быть параллельными фронталям другой, так как у этих плоскостей параллельны одноименные следы.

    Для того чтобы построить две плоскости, пересекающиеся между собой, необходимо найти прямую, по которой пересекаются две плоскости. Для построения этой прямой достаточно найти две точки, принадлежащие ей.

    Иногда, когда плоскость задана следами, найти данные точки легко с помощью эпюра и без дополнительных построений. Здесь известно направление определяемой прямой, и ее построение основывается на использовании одной точки на эпюре.

    2. Прямая, параллельная плоскости

    Может быть несколько положений прямой относительно некоторой плоскости.

    1. Прямая лежит в некоторой плоскости.

    2. Прямая параллельна некоторой плоскости.

    3. Прямая пересекает данную плоскость.

    Рассмотрим признак параллельности прямой и плоскости. Прямая является параллельной плоскости, когда она параллельна любой прямой, лежащей в этой плоскости. На рисунке 53 прямая АВ параллельна плоскости Р, так как она параллельна прямой MN, которая лежит в этой плоскости.


    Когда прямая параллельна плоскости Р, в этой плоскости через какую-либо ее точку можно провести прямую, параллельную данной прямой. Например, на рисунке 53 прямая АВ параллельна плоскости Р. Если через точку М, принадлежащую плоскости Р, провести прямую NM, параллельную АВ, то она будет лежать в плоскости Р. На том же рисунке прямая CD не параллельна плоскости Р, потому что прямая KL, которая параллельна CD и проходит через точку К на плоскости Р, не лежит в данной плоскости.

    3. Прямая, пересекающая плоскость

    Для нахождения точки пересечения прямой и плоскости необходимо построить линии пересечения двух плоскостей. Рассмотрим прямую I и плоскость Р (рис. 54).


    Рассмотрим построение точки пересечения плоскостей.

    Через некоторую прямую I необходимо провести вспомогательную плоскость Q (проецирующую). Линия II определяется как пересечение плоскостей Р и Q. Точка К, которую и требуется построить, находится в пересечение прямых I и II. В этой точке прямая I пересекает плоскость Р.

    В данном построении основным моментом решения является проведение вспомогательной плоскости Q, проходящей через данную прямую. Можно провести вспомогательную плоскость общего положения. Однако показать на эпюре проецирующую плоскость, используя данную прямую, проще, чем провести плоскость общего положения. При этом через любую прямую можно провести проецирующую плоскость. На основании этого вспомогательная плоскость выбирается проецирующей.

    4. Прямая, перпендикулярная плоскости

    Прямая и плоскость перпендикулярны, если на плоскости можно найти две пересекающиеся прямые, перпендикулярные исходной прямой. В качестве подобной пары контрольных прямых легче всего рассматривать следы плоскости Ph и Pv (рис. 55). Это вызвано тем, что прямой угол между перпендикуляром к плоскости и следом Ph дает проекцию на горизонтальную плоскость без искажения, а угол между перпендикуляром и следом Рv проецируется на фронтальную плоскость V.


    Итак, признак перпендикулярности можно задать, используя прямую и плоскость на эпюре.

    Прямая является перпендикулярной плоскости, когда проекции прямой перпендикулярны одноименным следам плоскости.

    Лекция № 6. Проекции геометрических тел

    1. Призма и пирамида

    Рассмотрим прямую призму, которая стоит на горизонтальной плоскости (рис. 56).


    Ее боковые грани являются частями горизонтально-проецирующих плоскостей, а ребра являются отрезками вертикальных прямых. Исходя из этого ребра следует проецировать на горизонтальную плоскость в виде точек, а на фронтальную плоскость – без искажения (AA = a?a?1 и т. д.).

    Нижнее основание призмы ABC находится в горизонтальной плоскости, поэтому ее можно изобразить на этой плоскости без искажения: ?ABC = ?abc. Фронтальная проекция пирамиды а?b?с? совпадает с осью х.

    Оба основания дают одинаковые горизонтальные проекции (?abc = ?a1b1c1). Верхнее основание A1B1C1 параллельно горизонтальной плоскости, т. е. его фронтальная проекция а?1b?1с?1 параллельна оси х.


    При рассмотрении призмы сверху (рис. 57) будет видно только верхнее основание призмы.

    Горизонтальные проекции трех точек, которые лежат на нижнем основании, помещены в скобки с целью показа, того, что точки А, В и С невидимы, если смотреть на призму из данного положения.

    Для определения невидимых элементов на фронтальной проекции обращаются к горизонтальной проекции.

    Направление луча зрения показано на рисунке 58 стрелкой. Видно, что грань AA1C1С при таком угле зрения будет невидимой.

    На рисунке 58 показана треугольная пирамида, которая находится на горизонтальной плоскости.


    Гранями пирамиды являются треугольники, являющиеся частями плоскостей общего положения.

    Если рассматривать пирамиду сверху, можно увидеть всю ее боковую поверхность, т. е. для горизонтальной проекции не существует невидимых элементов.

    Из рассуждений, подобных рассуждениям в случае призмы, можно убедиться, что на фронтальной проекции невидима грань SAC (рис. 59).

    3. Цилиндр и конус

    Цилиндр – это фигура, поверхность которого получается вращением прямой m вокруг оси i, расположенной в одной плоскости с этой прямой. В случае, когда прямая m направлена параллельно оси вращения, получается цилиндр (рис. 60), когда она пересекает ось вращения, полученная фигура будет являться конусом (рис. 61).


    Прямой круговой цилиндр имеет образующие, направленные перпендикулярно горизонтальной плоскости (рис. 61). По этой причине вне зависимости от выбора точки N на его поверхности горизонтальная проекция n этой точки находится на основании цилиндра.


    Основание цилиндра составляет линию пересечения боковой поверхности цилиндра с горизонтальной плоскостью, т. е. это горизонтальный след поверхности цилиндра. Следовательно, боковая поверхность прямого кругового цилиндра, который стоит на горизонтальной плоскости, рассматривается как горизонтально-проецирующая поверхность по отношению к любой линии, начерченной на его поверхности.


    На рисунке 63 показаны проекции цилиндра.

    Фронтальная проекция а?а?1, которая образует АА1, ограничивает слева фронтальную проекцию цилиндра, т. е. является ее контурной образующей. На профильной плоскости ее проекция а?а?1располагается на оси симметрии этой проекции. Профильная проекция d?d?1образующей DD1 является контурной, а ее фронтальная проекция d?d?1 находится на оси симметрии и т. д.

    Если мы посмотрим на цилиндр сверху (рис. 63), увидим только его верхнее основание.

    Рассмотрим горизонтальную проекцию. Если провести фронтальную плоскость Р, разделяющую цилиндр на две равные части, можно заметить, что все точки, лежащие на передней половине цилиндра, будут видны при рассмотрении цилиндра спереди, т. е. на фронтальной проекции. Боковая поверхность цилиндра, которая расположена ниже следа Ph, видима на фронтальной проекции, а остальная его часть невидима, т. е. образующая CC1 на фронтальной проекции невидима.

    Для выделения невидимых элементов на профильной проекции, необходимо обратиться к горизонтальной проекции. След Qh профильной плоскости разделяет горизонтальную проекцию на две части. Боковая поверхность, которая расположена слева от Qh, видима на профильной проекции и т. д. Таким образом образующая BB1 невидима на профильной проекции.

    На рисунке 64 показан прямой круговой конус, который стоит на горизонтальной плоскости.


    Основание конуса и линия пересечения поверхности конуса с любой горизонтальной плоскостью Р проецируются на горизонтальную плоскость в виде окружности, а на фронтальную плоскость – в виде отрезка, который равен диаметру этой окружности.

    Рассмотрим на рисунке 65 и все проекции четырех образующих, ограничивающих какой-либо из контуров проекций.


    Проекция a?s? образующей AS ограничивает контур на фронтальной проекции, а ее профильная проекция a?s? лежит на оси симметрии проекции (на образующей AS находится произвольная точка) и т. д.

    При рассмотрении конуса сверху все точки боковой поверхности видимы (рис. 65).

    Для отыскания невидимых элементов на фронтальной проекции проведем на горизонтальной проекции след Ph той плоскости, которая разделяет конус на две части (видимую и невидимую), если смотреть на конус спереди, т. е. образующая SD в этом случае невидима.

    Аналогично можно убедиться, что образующая SB невидима на профильной проекции.

    3. Шар, тор и кольцо

    Когда некоторая ось вращения I является диаметром окружности, то получается шаровая поверхность (рис. 66).


    Если положение оси другое, в плоскости окружности получается поверхность, называемая тором (рис. 67).

    Когда ось вращения не пересекает окружность (рис. 68), то полученную в этом случае поверхность обычно называются кольцом (или кольцевой поверхностью).

    Рассмотрим эти поверхности отдельно.

    Для того чтобы построить контур проекции шара, необходимо провести все проецирующие лучи, которые касаются ее поверхности (рис. 69). Эти лучи образуют цилиндр, касающийся шара по большому кругу, плоскость которого Q перпендикулярна проецирующим лучам.

    В случае, если плоскость проекции перпендикулярна лучам проекции, проекцией шара будет окружность, которая равна большому кругу шара. В других случаях проекция будет иметь форму эллипса.

    Итак, прямоугольная проекция шара – круг, косоугольная проекция – эллипс.

    Следовательно, проекции контура шара на горизонтальных, фронтальных и профильных плоскостях всегда являются окружностью.


    Шаровую поверхность можно получить вращением окружности около ее диаметра. Пусть ось вращения I является перпендикулярной горизонтальной плоскости и становится одним из диаметров окружности. Окружность будет вращаться около оси I и описывать шаровую поверхность (рис. 66). Точки, которые лежат на этой исходной окружности (А, В, С и D), при вращении ее вокруг оси I также опишут окружности, называемые параллелями. Параллели изображаются без искажения на горизонтальной плоскости, а на фронтальной плоскости – в виде отрезков, равных диаметрам (рис. 70).


    Самая большая параллель равна большому кругу шара. Она называется его экватором. Проекции экватора показаны на рисунке 70 штриховой линией.

    Разные положения вращающейся вокруг оси I окружности выступают как так называемые меридианы шара. Их изображают на горизонтальной плоскости в форме диаметров окружности, которые представляют собой контуры проекции шара. На фронтальной плоскости все меридианы, кроме двух, изображаются в виде эллипсов. Меридиан, находящийся во фронтальной плоскости, будет изображаться в виде контура на этой проекции и в виде вертикального диаметра на остальных проекциях. Подобным образом изображается меридиан, который расположен в профильной плоскости.


    Точки пересечения поверхности шара с осью вращения (Е и F, рис. 65) принято называть полюсами.


    Любое из сечений шара плоскостью будет являться окружностью. Она проецируется на данную плоскость проекций без искажения только тогда, когда секущая плоскость параллельна рассматриваемой плоскости горизонтальной проекции. На рисунке 71 показана фронтальная плоскость. Окружность, по которой эта плоскость пересекает поверхность шара, проецируется на фронтальную плоскость без искажения. На горизонтальной и профильной плоскостях эта окружность проектируется в форме отрезков, которые совпадают со следами Ph и Pw и двумя точками контуров горизонтальной и профильной проекций шара, заключенных между ними. Длины отрезков равны диаметру полученной окружности.


    На рисунке 70 показаны семь горизонтальных плоскостей, которые пересекают шар по горизонтально расположенным окружностям. Данные окружности проецируются на горизонтальную плоскость в полную величину, а на фронтальную плоскость – в виде отрезков. Одна плоскость проходит через центр шара и делит его на две равные части. Верхняя половина шара является видимой при наблюдении сверху, а точки, находящиеся на нижней, невидимы.


    Также проведены шесть окружностей, представляющих собой различные положения вращающейся вокруг оси I окружности; одна из них является сечением шара фронтальной плоскостью. Эта фронтальная плоскость разделяет шар на две половины. Его передняя часть видна на фронтальной проекции. Еще одна окружность получена в результате сечения профильной плоскостью. Она также отделяет видимые точки шара от невидимых на профильной проекции. Остальные четыре окружности являются сечениями шара горизонтально-проецирующими плоскостями. Все эти четыре окружности имеют горизонтальные проекции в виде отрезков, равных диаметру шара, а фронтальные проекции – в виде эллипсов.

    Тор – это поверхность, получаемая в результате вращения окружности около оси, которая лежит в ее плоскости, не проходящей через ее центр.

    На рисунке 67 показаны окружность и ось вращения I, пересекающая окружность в двух точках (F и Е).

    Если вращать большую часть FABCE окружности, то получается тор, показанный на рисунке 67.

    Если вращать меньшую дугу РВЕ окружности, то получается поверхность тора, которая напоминает по форме лимон (рис. 72).


    Дуга полуокружности ABC (рис. 74) образует при вращении ту часть поверхности тора, которую принято называть наружной, а две небольшие дуги AF и СЕвнутренней его поверхность.


    Точка В при вращении описывает самую большую окружность (ее можно назвать экватором тора). Эта окружность отделяет видимую часть поверхности тора от невидимой, если смотреть на тор сверху. Дуги окружности BAF или BF (рис. 75) описывают при вращении видимые части поверхности, а дуги ВСЕ или BE – невидимые.

    При наблюдении тора спереди вся его внутренняя поверхность будет невидимой. Если провести фронтальную плоскость через ось вращения I, то эта плоскость разделит наружную поверхность тора на переднюю видимую и заднюю невидимую.

    Рассмотрим образования кольца. В этом случае ось вращения I, несмотря на то что лежит в плоскости исходной окружности, ее не пересекает (рис. 73). Любая горизонтальная плоскость, перпендикулярная оси вращения, даст в сечении две окружности. На рисунке 74 проведена плоскость R, пересекающая кольцевую поверхность по двум окружностям (с радиусаи R и r), т. е. по двум параллелям.

    Лекция № 7. Расположение проекций в черчении

    1. Линии, применяемые в черчении

    В черчении применяют три основных типа линий (сплошные, штриховые и штрихпунктирные) различной толщины (рис. 76).


    На рисунке 75 толщина каждой линии в милиметрах указана цифрами.

    Рассмотрим более подробно каждый из типов линий и их основное применение.

    1. Сплошная контурная линия считается основной линией чертежа. Ее толщина выбирается в зависимости от размеров чертежа, его сложности и назначения. Толщина контурной линии обозначается буквой b и может принимать значения от 0,4 до 1,5 мм (рис. 77).


    Толщина других линий чертежа определяется толщиной линии видимого контура. На одном и том же чертеже все одноименные линии должны быть одной и той же толщины.

    2. Штриховую линию невидимого контура применяют для проведения очертаний внутренних плоскостей и линий, скрытых от наблюдателя, а также для изображения резьбы и окружности впадин зубчатых колес (рис. 78).


    Линия невидимого контура по толщине должна быть в два-три раза меньше толщины линии видимого контура. Длина штрихов – в четыре раза больше расстояния между штрихами. Чаще всего длина штрихов равна 4–6 мм, а расстояние между штрихами 1,1–1,5 мм. Обычно длина штрихов уменьшается с толщиной линий. На мелких чертежах длина штриха может быть уменьшена до 2 мм.

    3. Линии излома, обрыва или выреза разделяются на три основных вида (рис. 79):

    1) волнистая линия обрыва является линией той же толщины, что и линия невидимого контура. Ее проводят от руки;

    2) штрихпунктирная линия обладает той же толщиной, что и волнистая. Длина штрихов примерно 10,1-12 мм, а расстояние между штрихами – 3 мм. На небольших чертежах длина штрихов может быть меньше;


    3) линию излома можно проводить также в виде тонкой линии с прямолинейными зигзагами. Такие линии применяют при построении длинных линий излома.

    4. Тонкая сплошная линия. Ее толщина в четыре раза меньше толщины линии контура, и она применяется часто. Ею выполняют выносные и размерные линии, проводят штриховку и всевозможные вспомогательные линии, необходимые в процессе какого-нибудь построения или поясняющие его (рис. 80).


    5. Осевые и центровые линии (рис. 81). Они являются тонкими штрихпунктирными линиями со сравнительно длинными штрихами. Длина штрихов примерно 20–25 мм. Расстояние между штрихами примерно 3 мм. На малых чертежах длина штрихов может быть меньше. Такая штрихпунктирная линия применяется для проведения и начальной окружности, и образующих начального цилиндра и начального конуса, и у зубчатых колес.


    6. Штрихпунктирную линию с двумя точками (рис. 82) применяют для очертаний габарита, контуров механизма в его крайнем или промежуточном положении и контура пограничной детали, имеющей вспомогательное значение. Эти линии имеют такую же толщину и длину штрихов, как и обычные штрихпунктирные линии, применяемые в качестве осевых и центровых.


    7. Линию контура наложенной проекции применяют для изображения частей, отпадающих при разрезах или находящихся перед вычерчиваемой деталью, а также для вариантов выполнения детали и для вычерчивания контура заготовки, нанесенного на чертеж детали. Длина штрихов в зависимости от величины проекции должна быть 4–8 мм.


    8. Линию рамки чертежа, контура штампа, графления таблицы и т. д. проводят сплошной линией. Она может быть тоньше линии контура. При выборе толщины таких линий необходимо стремиться к тому, чтобы чертеж имел красиво оформленный вид (рис. 83).

    Рассмотрим линии для указания плоской поверхности. Когда поверхности вращения чередуются с плоскими гранями (рис. 84), следует оттенить наличие этих плоских граней. Для этого на их проекциях наносятся тонкие диагонали каждой плоской грани, что является условным обозначением на чертеже плоской поверхности.


    Для обводки различных линий (осевых, центровых, размерных, выносных, разреза, сечения, контура пограничной детали, контура наложенного сечения, контуров механизмов в их крайних или промежуточных положениях и очертания габарита, для осей проекций, следов плоскостей и линий построения характерных точек) возможны, помимо черного, также другие цвета.

    2. Расположение видов (проекций)

    В черчении применяются шесть видов, которые изображены на рисунке 85. На рисунке показаны проекции буквы «Л».


    Три проекции, изученные в начертательной геометрии, образуют следующие три вида: фронтальную проекцию, которая представляет собой главный вид, или вид спереди; горизонтальную проекцию, которая представляет собой вид сверху (план); профильную проекцию, которая представляет собой вид слева изображаемого предмета.

    Виды располагают на чертеже так, как показано на рисунке 85, т. е.:

    1) вид сверху располагается обычно под главным видом;

    2) вид слева – справа от главного вида;

    3) вид справа – слева от главного вида;

    4) вид снизу – над главным видом;

    5) вид сзади – правее вида слева.

    Все рассмотренные проекции предмета обычно получаются с помощью данных двух ее видов. На рисунке 86 показано построение по данным двум проекциям треугольной пирамиды еще трех ее проекций (всех, кроме вида сзади).


    На рисунке 86 показаны вспомогательные линии построения. Построение необходимых проекций похоже на построение профильной проекции по данным горизонтальной и фронтальной проекциям предмета.

    При изображении предметов, которые проецируются в форме симметричной фигуры, можно вычерчивать вместо целого вида несколько более его половины. При этом проекцию с незаконченной стороны ограничивают волнистой линией, которая в два-три раза тоньше контурной.

    3. Отступление от приведенных правил расположения видов

    В некоторых случаях допускаются отступления от правил построения проекций. Среди этих случаев можно выделить следующие: частичные виды и виды, расположенные без проекционной связи с другими видами.

    Рассмотрим эти случаи.

    Частичные проекции. На рисунке 87 показано колено трубы с тремя фланцами.


    Главный вид не полностью определяет ее форму. Добавлены две частичные проекции. Одна из них имеет вид фланца, если смотреть на него снизу. В рассматриваемом случае вид снизу расположен под главным видом с той целью, чтобы обе проекции фланца были ближе друг к другу. Вторая частичная проекция (слева от главного вида) показывает форму наклонно расположенного фланца, если смотреть на него перпендикулярно его плоскости.

    В этом случае нецелесообразно полностью изображать вид сверху или снизу, так как при этом форма наклонно расположенного фланца была бы изображена искаженно, что только усложнило бы чертеж, не показывая его сути.

    Нарушение проекционной связи. Если один из видов приходится располагать вне непосредственной проекционной связи с главным видом или если он отделен от главного вида другими изображениями, то нужно или указать название этого вида, или сделать специальные указания стрелкой и надписью, например «Вид по стрелке А» (рис. 87). Если вид располагается на отдельном листе, то необходимо надписать его название.

    4. Число проекций, определяющих данное тело

    Положение тел в пространстве, форма и размеры определяются обычно небольшим числом соответствующим образом подобранных точек.

    Если при изображении проекции какого-то тела обращать внимание не на отдельные его точки, а на построение только контурных линий, то возможны некоторые затруднения и неясности.

    Это видно из примера.

    Рассмотрим прямоугольный параллелепипед. Его грани расположены параллельно плоскостям проекций (рис. 88).


    В этом случае на каждую из плоскостей будет проецироваться по одной грани в натуральную величину. Данное положение тела относительно плоскостей проекций облегчает его изготовление по чертежу.

    Если проставить буквы в вершинах параллелепипеда, то две проекции уже будут его определять (рис. 89).

    Если не проставлять буквы в вершинах параллелепипеда, то только три проекции определят его форму (рис. 89). Чтобы убедиться в этом, начертим две из этих проекций (фронтальную и профильную) (рис. 90) и попытаемся построить третью – горизонтальную.


    Анализируя эти две проекции, можно представить себе не одну, а несколько различных проекций горизонтальной грани. Поэтому, кроме исходного прямоугольного параллелепипеда, еще несколько тел будет иметь данные две проекции и отличаться только третьими.

    Лекция № 8. Определение натуральных величин

    1. Вращение точки около оси, перпендикулярной плоскости проекций

    На рисунке 91 дана ось вращения I, которая перпендикулярна горизонтальной плоскости, и произвольно расположенная в пространстве точка А. При вращении около оси I эта точка описывает окружность, плоскость которой перпендикулярна оси I. А отсюда следует, что она параллельна горизонтальной плоскости, поэтому на горизонтальную плоскость эта окружность А проецируется без искажения.


    Обратим внимание на то, что H – это горизонтальная плоскость, а V – фронтальная плоскость.

    Пусть точка А повернется около оси вращения на некоторый угол. Она перейдет в положение А1, при этом ее горизонтальная проекция а пройдет такой же путь около следа оси вращения и повернется на тот же угол. На плоскости V фронтальная проекция а? будет перемещаться по прямой, которая параллельна оси х.

    На рисунке 92 показана ось вращения I, перпендикулярная фронтальной плоскости. Можно сказать, что в этом случае горизонтальная и фронтальная плоскости поменялись ролями. Окружность здесь представляет траекторию точки В. При этом вращении она проецируется без искажения на фронтальную плоскость. На горизонтальной плоскости ее проекция b перемещается по прямой, параллельной оси х.

    2. Определение натуральной величины отрезка путем вращения

    Отрезок, параллельный какой-нибудь плоскости проекций, проецируется на нее без искажения. Если повернуть отрезок таким образом, чтобы он стал параллельным одной из плоскостей проекций, то можно определить его натуральные размеры. Это вращение осуществляется легче всего вокруг оси, которая перпендикулярна одной из плоскостей проекций.


    На рисунке 93 показано вращение отрезка около оси, которая перпендикулярна горизонтальной плоскости. Пусть дан произвольный отрезок АВ, тогда проведем через точку В вертикальную прямую I. Она, в свою очередь, перпендикулярна горизонтальной плоскости. Теперь будем вращать отрезок АВ около этой прямой I. При этом отрезок АВ опишет поверхность прямого кругового конуса, а его вершина будет расположена в точке В (рис. 93). Прямая I здесь является осью конуса. В этом случае точка А описывает окружность, которая является основанием этого конуса. Данное основание изображается в натуральную величину на горизонтальной плоскости, в виде отрезка, параллельного оси х, на фронтальной плоскости. Отрезок АВ представляет собой образующую конуса.


    Отрезок АВ будем вращать до тех пор, пока он не расположится параллельно фронтальной плоскости (таких положений будет два, и они совпадают на фронтальной плоскости с контуром вспомогательного конуса). В этом случае его горизонтальная проекция должна стать параллельной оси х. Оказалось, что точка В легла на ось вращения, поэтому при вращении отрезка она не изменит своего положения. На рисунке 93 показано, как горизонтальная проекция а описывает дугу окружности с центром в точке b, а фронтальная проекция а перемещается по прямой, параллельной оси х.

    Проекция является натуральным изображением отрезка АВ, т. е. a?1b? = AB.

    На рисунке 94 показано вращение отрезка около оси, которая перпендикулярна фронтальной плоскости. При этом натуральная величина отрезка АВ установлена вращением около оси I, которая проходит через точку В перпендикулярно фронтальной плоскости. В этом случае построение абсолютно аналогично тому, которое было рассмотрено ранее.

    Лекция № 9. Пересечение поверхности многогранника проецирующей плоскостью

    1. Общие понятия

    Если пересечь поверхность многогранника плоскостью, то в сечении получается многоугольник. Первая задача заключается в построении проекций многоугольника, получившегося в сечении, затем следует определить натуральный вид этого многоугольника. Также необходимо построить развертку поверхности данного многогранника, причем нужно указать на его поверхности след секущей плоскости.

    Построение проекций фигуры сечения можно выполнить двояко.

    1. Можно найти точки встречи ребер многогранника с секущей плоскостью, после чего соединить проекции найденных точек. В результате этого получатся проекции искомого многоугольника. В этом случае целью задачи является определение точек встречи нескольких прямых с данной плоскостью.

    2. Построение можно выполнить по-другому: последовательно найти линии пересечения каждой из граней многогранника с секущей плоскостью, тогда придется несколько раз строить линию пересечения двух плоскостей.

    Чтобы определить истинные размеры многоугольника, который получается в секущей плоскости, обычно поступают следующим образом: совмещают эту плоскость с плоскостью проекций.

    Плоская фигура, которая получается, если все грани вычертить в настоящую величину на плоскости чертежа в том порядке, в каком они следуют на самом многограннике, называется разверткой (или выкройкой) поверхности данного многогранника. Для ясности можно сказать, что поверхность многогранника как бы разрезается вдоль некоторых его ребер так, чтобы потом эту поверхность можно было совместить с плоскостью чертежа. В том случае если поверхность многогранника пересечена некоторой плоскостью, тогда для построения развертки на каждой грани следует изобразить след секущей плоскости.

    Построение развертки боковой поверхности многогранника осуществляется в два основных этапа:

    1) определением истинных размеров всех элементов каждой ее грани. Именно благодаря им можно построить изображение этой поверхности в натуральную величину;

    2) последовательное построение каждой грани в натуральную величину исходя из найденных раньше элементов.

    В случае если данная грань многогранника представляет собой треугольник, тогда, чтобы построить ее в натуральную величину, нужно просто знать размеры всех ее сторон. Если грань многогранника представляет собой четырехугольник, то, кроме четырех его сторон, следует знать еще какой-либо ее элемент (или один из углов, или диагональ и т. п.). В некоторых случаях вспомогательными линиями могут быть следы секущей плоскости.

    2. Призма

    На рисунке 95 показано пересечение поверхности прямой призмы фронтально-проецирующей плоскостью Р. Первым делом нужно рассмотреть проекции сечения. Ребра призмы перпендикулярны горизонтальной плоскости и проецируются на ней точками. Здесь горизонтальная проекция а точки А является пересечением ребра KK1 с плоскостью Р, она совпадает с проекцией k. Фронтальная проекция а располагается на следе Рv. Следовательно, горизонтальная проекция a?b?c? искомого сечения совпадает с проекцией основания klm. При этом фронтальная проекция аbс расположена на следе Рv. Если располагать двумя проекциями и сечениями, то нетрудно построить третью.

    Для определения истинных размеров треугольника ABC нужно совместить плоскость Р с горизонтальной плоскостью путем вращения около горизонтального следа Ph.

    Чтобы построить развертку, надо иметь все необходимые элементы на эпюре, основание проектируется без искажения на горизонтальную плоскость, а все ребра с точками пересечения – на фронтальную плоскость.

    Начинать построение развертки следует с ребра КК1, поместив его где-нибудь в стороне. На рисунке 96 показаны вспомогательные прямые, проведенные перпендикулярно ребру КК1. После этого от точки К вправо откладывается отрезок KL, равный стороне основания kl. Затем проводят второе ребро LL1, завершая построение натурального изображения грани KK1LL1. Далее справа от этой грани строят натуральное изображение следующей грани LL1M1M и продолжают до тех пор, пока не будет целиком построена развертка боковой поверхности призмы.

    После этих действий на всех ребрах отмечают точки А, В и С, откладывая на развертке KA = k?a?, LB = l?b? и МС = m?с?.


    Отметим, что на развертке отрезки АВ, ВС и СА имеют натуральные размераы сторон треугольника сечения, который показан на чертеже слева в натуральную величину (треугольник ABC). В связи с этим данные отрезки должны быть равны соответствующим сторонам треугольника. Проверкой точности построения является равенство этих отрезков на чертеже.

    Теперь осталось только пристроить к развертке боковой поверхности призмы верхнее и нижнее основания, т. е. два треугольника MKL и M1K1L1. При этом каждый из треугольников строится по трем сторонам.


    На рисунке 97 показано пересечение поверхности призмы горизонтально-проецирующей плоскостью Q. Здесь сечением является прямоугольник АА1В1В, одна пара сторон которого АВ и A1B1 проецируется без искажения на горизонтальную плоскость, а вторая пара AA1 и ВВ1 – на фронтальную и профильную плоскости.

    Пусть натуральные размеры обеих сторон прямоугольника АА1В1В даны, но в разных местах. Для построения прямоугольника в натуральную величину нужно через а и b провести прямые перпендикулярно q, затем наметить на них где-нибудь положение точек А и В (AB?aA). После этого откладываются от точек А к В на вспомогательных линиях натуральные размеры сторон АА1 и ВВ1, при этом их берут с фронтальной проекции.

    Строя натуральную величину сечения, мы как бы совместили прямоугольник с горизонтальной плоскостью, вращая его около горизонтального следа АВ (АВ = аb). После чего для удобства немного отодвинули это изображение от линии q.

    Построение натурального вида прямоугольника

    сечения весьма удобно делать слева от фронтальной проекции призмы (прямоугольник ABB1A1).

    3. Пирамида

    На рисунке 98 показано пересечение поверхности пирамиды фронтально-проектирующей плоскостью Р. На рисунке 98б изображена фронтальная проекция а точки встречи ребра KS с плоскостью P. Она определяется пересечением следа Pv с фронтальной проекцией ребра k?s? (рис. 98 а). Если фронтальная проекция а? точки А дана, то легко найти её горизонтальную проекцию а.


    На рисунке 98, б показаны натуральные размеры ABC сечения ABC, которые были определены совмещением его с горизонтальной плоскостью путем вращения около следа Ph. Отдельно на этом рисунке показаны элементы, которые необходимы для построения развертки. Натуральные размеры ребер пирамиды можно найти путём вращения их около оси, проходящей через вершину S перпендикулярно горизонтальной плоскости, как показано на рисунке 98 в. На рисунке 98 г показана развертка, а изображение каждого из треугольников, входящих в состав развертки, можно построить по трём его сторонам – ребрам.


    На рисунке 99 показано пересечение поверхности пирамиды горизонтально-проецирующей плоскостью Q. Треугольник ABC является сечением поверхности пирамиды плоскостью Q, основание АС которого проецируется на горизонтальную плоскость без искажения, а высота BD – на фронтальную и профильную плоскости.

    Чтобы построить натуральное изображение сечения, нужно провести через проекции а, с и d вспомогательные прямые, которые перпендикулярны Qh. После этого следует провести прямую АС параллельно Qh (AC?аА), точка D будет лежать на АС. Затем необходимо отложить от точки D на прямой Dd высоту треугольника (DB = d?b?). Это определит положение вершины В. Теперь треугольник ABC представляет собой натуральный вид сечения поверхности данной пирамиды плоскостью Q. Строить натуральный вид треугольника сечения весьма удобно слева от фронтальной проекции (треугольник ABC).

    4. Косые сечения

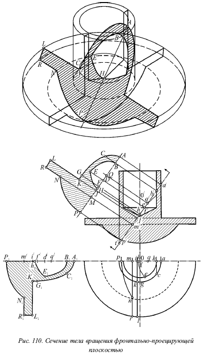
    Под косыми сечениями понимают круг задач на построение натуральных видов сечений рассматриваемого тела проецирующейся плоскостью. Для выполнения косого сечения необходимо расчленить рассматриваемое тело на элементарные геометрические тела, например призму, пирамиду, цилиндр, конус, шар и т. д. После чего следует строить натуральный вид искомого сечения, рассматривая последовательно пересечение плоскости с каждым из этих тел.

    На рисунке 100 показана правильная четырёхгранная пирамида с призматическим сквозным отверстием, которая пересечена фронтально-проецирующей плоскостью. Пусть требуется построить натуральное изображение сечения. Она представляет собой две равнобедренные трапеции ABCD и EFGH.

    На плане представлены размеры сторон параллельных оснований в натуральную величину, а расстояния между ними, которые являются высотами трапеций, – на главном виде. Для построения сечения этих данных достаточно. Построение выполняют в следующем порядке:

    1) проводят ось симметрии сечения параллельно фронтальному следу секущей плоскости, переносят на нее высоты упомянутых трапеций. С этой целью проводят через соответствующие точки следа секущей плоскости прямые, которые перпендикулярны этому следу;

    2) откладывают по обе стороны от оси симметрии половины натуральных размеров оснований трапеций:

    AD = ad, BC = bc и т. д.;

    3) соединяют построенные точки прямыми и заштриховывают полученные площади сечения.

    Также натуральный вид сечения можно наблюдать справа от горизонтальной проекции пирамиды (A1B1C1D1 и E1F1H1).


    Заметим, что точки D, С, Н и G лежат на одной прямой, так же как и точки F, Е, В и А на другой прямой. Эти прямые являются сечениями передней и задней граней, каждая из которых разрывается отверстием на две части (это важно при построении натурального вида сечения).


    На рисунке 101 показана пирамида, пересеченная горизонтально-проецирующей плоскостью. Пусть требуется построить натуральный вид сечения. Здесь прямую AF можно считать основанием многоугольника сечения, тогда построим это основание и от него будем откладывать высоты остальных вершин сечения. Следует поместить отрезок AF параллельно af, проводя прямые аА и fF перпендикулярно af (AF = af). Затем через горизонтальные проекции (b, с, d и е) остальных вершин многоугольника проводят прямые, перпендикулярные af. Потом откладывают на них по другую сторону от AF высоты перечисленных точек, основываясь на размерах главного вида. При этом отрезок DE должен быть параллельным AF.

    Представим, выполняя это построение, что мы как бы совместили сечение с горизонтальной плоскостью проекций, вращая его около горизонтального следа af секущей плоскости, после чего немного отодвинули его в направлении, перпендикулярном следу af.

    Также натуральный вид построен справа от фронтальной проекции (A1B1C1D1E1F1).

    При этом точки В, С, Е и F лежат на одной прямой.

    Лекция № 10. Пересечение поверхностей тел вращения дважды проецирующей плоскостью

    1. Общие сведения

    При пересечении поверхности тела вращения плоскостью Р обычно получают в сечении некоторую кривую линию. Основными задачами являются определение проекции линии, строение натурального вида сечения и развертка рассеченной поверхности тела вращения.


    Как правило, кривая линия, полученная в сечении данного тела плоскостью, относится к лекальным кривым. Значит, для точного ее построения необходимо довольно много точек. Чтобы найти точки кривой, применяют метод проведения вспомогательных плоскостей. На рисунке 102 изображен конус, поверхность которого пересекается некоторой фронтальной плоскостью Р. Для получения нескольких точек, которые принадлежат линии сечения (гиперболе), нужно провести вспомогательную горизонтальную плоскость Q. Данная плоскость будет пересекать конус по окружности, а плоскость Р – по прямой линии. Точки, в которых полученная прямая пересекает окружность, принадлежат искомой линии пересечения.

    Проведя таким же образом еще несколько вспомогательных горизонтальных плоскостей, будем получаться каждый раз по две точки искомой линии. При получении достаточного числа таких точек, следует соединить их плавной кривой, которая будет являться проекцией искомой линии пересечения.

    Следовательно, метод проведения вспомогательных плоскостей заключается в нижеследующем.

    1. Проводят вспомогательную плоскость Q так, чтобы линию пересечения ее с данной поверхностью можно было легко построить.

    2. Приступают к построению этой линии, а также прямой пересечения плоскостей Р и Q, где Р является данной секущей плоскостью. Здесь общие точки линий пересечения плоскости Q с поверхностью и с данной плоскостью Р относятся к искомому сечению.

    3. Выполнив несколько вспомогательных плоскостей, определяют необходимое количество точек сечения таким образом, чтобы искомую кривую можно было строить с помощью лекала.

    Для поверхностей вращения любая плоскость, перпендикулярная оси вращения, будет пересекать данную поверхность по окружности. При выполнении чертежа все построения, связанные с нахождением отдельных точек кривой, нужно тонко выполнять карандашом, а после обводки кривой тушью вспомогательные построения удаляются. Благодаря этим линиям можно понять способ получения отдельных точек.

    Построение развертки в этом случае возможно только в тех отдельных случаях, когда поверхность относится к числу развертывающихся, т. е. таких поверхностей, которые, будучи разрезаными вдоль какой-нибудь линии, могут быть совмещены с плоскостью (как, например, поверхность цилиндра или конуса). Однако многие поверхности, например шаровая, не могут быть совмещены с плоскостью, в связи с этим построение развертки может выполняться только приближенно.

    2. Гипербола как сечение поверхности конуса фронтальной плоскостью

    Пусть требуется построить сечение поверхности конуса, стоящего на горизонтальной плоскости, плоскостью Р, которая параллельна плоскости V.

    На рисунке 103 показана фронтальная плоскость Р, параллельная оси конуса и пересекающая его поверхность по гиперболе. Данная кривая проецируется на плоскость V без искажения.

    Выполняя построение проекций сечения, вначале нужно найти секции характерных точек. В данном случае эти характерные точки представляют собой самые нижние и самые верхние ее точки.


    Нижние точки сечения. На рисунке 103а показаны две самые нижние точки сечения, они лежат в горизонтальной плоскости проекций и отмечены цифрой 1. Эти точки лежат на пересечении окружности основания с горизонтальным следом секущей плоскости Ph. На эпюре рисунке 103б изображены их горизонтальные проекции 1, а их фронтальные проекции 1? лежат на оси х.

    Верхняя точка сечения (вершина гиперболы). На этом же рисунке дана профильная проекция 3? вершины гиперболы, которая непосредственно видна на профильной проекции конуса как пересечение его контура со следом Pw.

    Следует отметить, что если профильная проекция конуса отсутствует, то, чтобы найти проекции вершины гиперболы (линии сечения), нужны некоторые вспомогательные построения. При этом любая горизонтальная плоскость Q пересекает конус по окружности, которая проецируется на горизонтальную плоскость Н без искажения. Эта окружность проектируется на фронтальную плоскость проекций в виде отрезка, который равен ее диаметру и который заключен между контурными образующими конуса. Если провести горизонтальную плоскость Q достаточно близко к основанию конуса, то часть данной окружности будет отсечена плоскостью Р (окружностью 2–2). Если провести такую плоскость несколько ближе к вершине, тогда окружность целиком сохранится (окружность 4). Требуется найти такое положение горизонтальной плоскости, которое даст самую большую целую окружность (окружность 3). Эта плоскость будет касаться гиперболы в вершине, она же определит положение искомой точки 3?.

    Горизонтальная проекция этой окружности касается следа Ph, а ее радиус равен оа. Поэтому для нахождения проекций вершины гиперболы нужно:

    а) повернуть радиус оа на 90° до положения оb;

    б) затем найти фронтальную проекцию b? точки В на контурной образующей конуса;

    в) после этого из точки b? провести прямую, параллельную оси х, до встречи с осью симметрии фронтальной проекции конуса в точке 3?.

    Промежуточные точки гиперболы. Чтобы найти проекции промежуточных точек гиперболы, проводят вспомогательные горизонтальные плоскости Q между вершиной гиперболы и основанием конуса. При этом каждая такая плоскость Q определит по паре точек гиперболы. Это построение выполняется следующим образом:

    1) сначала проводят фронтальный след Qv секущей горизонтальной плоскости, которая пересекает контур проекции тела в некоторой точке с?;

    2) затем находят горизонтальную проекцию с;

    3) после чего радиусом оси проводят окружность. При этом точки, в которых след Ph пересекает эту окружность, представляют собой горизонтальные проекции 2 тех точек гиперболы, которые лежат в плоскости Q, поскольку они отделяют сохранившуюся часть окружности от отсеченной плоскостью Р;

    4) в завершение находят фронтальные проекции 2? точек гиперболы на следе Qv.

    Данное построение указано на рисунке стрелками. После того как проведено несколько вспомогательных плоскостей и построено достаточное количество точек гиперболы, следует соединить их при помощи лекала.

    Лекция № 11. Пересечение поверхности тел вращения проецирующей плоскостью

    1. Сечение поверхности цилиндра

    Бывают следующие случаи сечения поверхности прямого кругового цилиндра плоскостью:

    1) окружность, если секущая плоскость Р перпендикулярна оси цилиндра, причем она параллельна основанию цилиндра (рис. 104а);

    2) эллипс, если секущая плоскость Р не перпендикулярна и не параллельна оси цилиндра (рис. 104б);

    3) пара прямых, если секущая плоскость Q содержит ось цилиндра или параллельна ей (рис. 104в).


    Особый интерес представляет случай, когда наклонная секущая плоскость пересекает основание цилиндра (плоскость Р1 на рис. 104б). Здесь часть эллипса может быть неверно принята за параболу или гиперболу. Нужно знать, что ни парабола, ни гипербола не могут быть получены как сечение поверхности кругового цилиндра плоскостью.

    На рисунке 105 показано пересечение поверхности цилиндра фронтально-проецирующей плоскостью Р. Здесь для цилиндра рассмотрено решение всех трех основных задач, связанных с сечением тела плоскостью, т. е. отыскание проекций сечения, его натурального вида и построение развёртки.

    Проекции сечения. На рисунке 105а рассмотрено наглядное изображение сечения, а отсюда видно, что большая ось эллипса представлена хордой 0–6, которая пересекает ось цилиндра в точке С. При этом малая ось направлена по горизонтали, перпендикулярной в плоскости V. Следовательно, малая ось проектируется без искажения на горизонтальной и профильной плоскости (рис. 105б), а центр эллипса находится на оси цилиндра (точка С). Следует отметить, что на рисунке 105б ось симметрии проходит через точки 0–6.


    Получающийся в горизонтальном сечении эллипс проецируется на плоскость в виде окружности основания, а на профильную плоскость – в виде эллипса. При этом большая ось эллипса 3?-9? является проекцией малой оси 3–9 исходного эллипса, а малая ось 0?-6? представляет собой проекцию большой оси 0–6. На фронтальной плоскости проекция эллипса есть отрезок 0?-6?, который равен большой оси самого эллипса.

    Следовательно, в самом начале построения можно получить две готовые проекции сечения: горизонтальную и фронтальную. После этого нужно построить только профильную проекцию. Следует заметить, что точки 3? и 9? отделяют видимую часть кривой от невидимой на профильной проекции. Если секущая плоскость Р наклонена к плоскости основания цилиндра под углом 45°, то профильная проекция эллипса является окружностью. На рисунке 105 угол наклона секущей плоскости меньше 45°, вследствие этого профильная проекция большой оси представляет собой малую ось профильной проекции эллипса. В том случае, если бы угол наклона секущей плоскости был больше 45°, проекция большой оси была бы большой осью профильной проекции эллипса.

    Построение натурального вида сечения. Сначала нужно отметить цифрами ряд точек на проекциях эллипса (на рис. 105 отмечено 12 таких точек), после чего следует начинать построение натурального вида сечения. Выполнить это можно двумя способами:

    1) построением совмещения плоскости Р с горизонтальной плоскостью путем вращения ее около горизонтального следа Ph. На рисунке 105 совмещение построено слева от Ph и соответствующие точки отмечены цифрами с чертой сверху;

    2) указанием 12 точек эллипса. При этом хорды, параллельные Ph, проецируются без искажения на горизонтальную плоскость, а расстояния между этими хордами проектируются на фронтальную плоскость. Вследствие этого проводят через точки следа Pv, которые отмечены цифрами, прямые, перпендикулярные Pv. Затем перпендикулярно этим линиям проводят ось симметрии данного эллипса. Вместе с крайними вспомогательными прямыми ее пересечение определит точки эллипса 0 и 6, т. е. концы большой оси. После этого от точек А, В и С следует отложить в обе стороны половины соответствующих хорд (Al = а1, В2 = b2, C3 = с3).

    В данном случае хорда 3–9 является малой осью эллипса.

    Развертка. На рисунке 106 показано построение развертки боковой поверхности неусеченного цилиндра. Эта боковая поверхность в развернутом состоянии является прямоугольником, основание которого равно длине окружности (?D), а высота – образующей цилиндра.


    В данном случае длина окружности заменена периметром вписанного правильного 12-угольника (рис. 106), после чего через соответствующие точки делений спрямленной окружности проведены образующие. При этом на каждой образующей отмечена ее точка встречи с плоскостью Р.

    2. Сечение поверхности конуса

    В общем случае круговая коническая поверхность включает в себя две совершенно одинаковые полости, которые имеют общую вершину (рис. 107в). Образующие одной полости представляют собой продолжение образующих другой полости. На практике мы имеем дело не с бесконечно расширяющимися двумя полостями конической поверхности, а с телом, которое ограничено одной полостью этой поверхности и плоскостью, что является обычным круговым конусом.

    Бывают различные случаи сечения поверхности кругового конуса плоскостью.

    1. Эллипс, если секущая плоскость не параллельна ни одной образующей (рис. 107б). Здесь секущая плоскость пересекает поверхность только одной полости конуса. Угол наклона секущей плоскости по отношению к основанию конуса меньше угла, который образующая конуса составляет с основанием конуса (рис. 108б). Здесь угол является углом, который образующая составляет с основанием.


    В том случае, если секущая плоскость перпендикулярна оси конуса (? = ?), окружность можно рассматривать как частный случай эллипса.

    2. Парабола, если секущая плоскость параллельна только одной образующей (рис. 107в). Здесь секущая плоскость не пересекает вторую полости конуса, а угол наклона v1? секущей плоскости по отношению к основанию конуса равен углу (рис. 108в).

    На рисунке 108в плоскость Q параллельна образующей SA, а ось параболы параллельна этой образующей.

    3. Гипербола, если секущая плоскость параллельна двум образующим (рис. 107а). При этом секущая плоскость пересекает обе полости конуса. Угол наклона секущей плоскости по отношению к основанию конуса больше угла (рис. 108а). На этом рисунке для указания двух образующих, которым параллельна секущая плоскость R, нужно провести через вершину конуса плоскость R1, которая параллельна плоскости R. Плоскость R1 должна пересечь поверхность конуса по образующим SA и SB, которым будет параллельна плоскость R.


    Заметим, что лишь в случае гиперболы секущая плоскость будет пересекать обе полости конуса. Значит любая плоскость, которая пересекает обе полости конуса, обязательно будет пересекать его поверхность по гиперболе.

    4. Пара прямых, если секущая плоскость проходит через вершину конуса и угол ее наклона к основанию конуса больше угла (рис. 107 г). Этот случай иногда рассматривают как частный случай гиперболы.

    Анализируя рисунок 108, заметим, что фронтально-проецирующая плоскость может давать сечения всех рассмотренных выше видов.

    3. Сечение поверхности шара

    Любое сечение поверхности шара плоскостью является окружностью, которая проецируется без искажения только в том случае, если секущая плоскость параллельна плоскости проекций. В общем же случае мы будем получать эллипс. В том случае, если секущая плоскость перпендикулярна плоскости проекций, на этой плоскости проекцией окружности является отрезок прямой, который равен диаметру этой окружности.

    На рисунке 109 показано пересечение поверхности шара горизонтально-проектирующей плоскостью Р. На горизонтальную плоскость сечение будет проецироваться в виде отрезка проекции р плоскости Р, который заключён между контуром шара и равен диаметру окружности сечения. На фронтальной плоскости мы получим эллипс. О1 является центром окружности, который получен в сечении шара. Он расположен на одной высоте с центром шара О. Горизонтальная проекция о1 центра О1 окружности располагается посредине отрезка ab. Перпендикуляр, который опущен из точки о на прямую ab, попадает в точку о1, являющуюся горизонтальной проекцией центра окружности сечения. Фронтальная проекция о?1центра окружности является центром интересующего нас эллипса.


    Если рассматривать эллипс как проекцию некоторой окружности, то его большая ось всегда будет проекцией того диаметра окружности, который параллелен плоскости проекций, а малая ось эллипса будет представлять собой проекцию диаметра, перпендикулярного ему. Вследствие этого большая ось эллипса проекции всегда равна диаметру проецируемой окружности. Здесь диаметр окружности CD перпендикулярен плоскости Н и проецируется без искажения на фронтальную плоскость. Для нахождения концов большой оси эллипса необходимо отложить вниз и вверх от центра о1 эллипса (по перпендикуляру к прямой о?о?1) отрезки о?1с? и о?1d?, которые равны половине диаметра окружности сечения о?1с? = о?1d? = 1/2(ab). При этом диаметр АВ окружности параллелен горизонтальной плоскости, а его фронтальная проекция а?b? представляет собой малую ось рассматриваемого эллипса.

    Точки, отделяющие видимую часть эллипса от невидимой. Начнем с проведения фронтальной плоскости Q, которая делит шар пополам. Плоскость Q будет пересекать поверхность шара по окружности, проецирующейся на фронтальную плоскость в виде контура. Тогда часть линии сечения, расположенную на передней части шара, будет видно, если смотреть на шар спереди, а остальная её часть не будет видна. Плоскость Q пересечет плоскость Р по фронтали Ф1. Пересекаясь с контуром, ее фронтальная проекция Ф определит точки 1, которые отделяют видимую часть кривой от невидимой. Промежуточные точки 2? эллипса можно найти с помощью вспомогательной фронтальной плоскости R, пересекающей поверхность шара по окружности радиуса r2, а плоскость Р – по фронтали Ф2.

    4. Косые сечения

    Пусть требуется построить натуральный вид сечения фронтально-проецирующей плоскостью тела. На рисунке 110а рассматривается тело, ограниченное тремя цилиндрическими поверхностями (1, 3 и 6), поверхностью конуса (7) и сферой (5). При этом цилиндры 1 и 6 ограничены сверху плоскостью 8, а цилиндр 3 ограничен с двух сторон плоскостями 2 и 4. Следовательно, кроме кривых поверхностей, тело также ограничено тремя плоскостями (2, 4 и 8), причем плоскость 8 не затрагивается секущей плоскостью.

    На рисунке 110б показана фронтальная проекция сечения, которая совпадает со следом плоскости. Построим натуральную величину сечения, ограничиваясь лишь одной его половиной.

    Построение делают следующим образом:

    1) цилиндр 1 пересекается секущей плоскостью по дуге эллипса, большая полуось которого имеется без искажения на главном виде a?f?. Здесь центр эллипса располагается на оси симметрии главного вида (точка f?), а отрезок FG является малой полуосью эллипса, которая равна радиусу окружности рассматриваемого цилиндра 1.

    Для дуги этого эллипса в сечении мы строили четыре точки: А – конец большой оси (вершина эллипса), G – конец малой оси, С – промежуточная точка и К – точка, в которой заканчивается дуга эллипса;

    2) линия пересечения в точке К переходит с поверхности цилиндра 1 на верхнее основание цилиндра 3 (на плоскость 2).

    Отрезок KL прямой, по которой секущая плоскость пересечет плоскость 2, изображена в натуральную величину на плане (KL = kl);

    3) от точки L до точки R мы располагаем небольшой дугой эллипса, которая соответствует пересечению с боковой поверхностью цилиндра 3;

    4) затем пересечение проходит по прямой RN, которая принадлежит плоскости 4 (RN = rn);


    5) далее с плоскости 4 линия пересечения переходит на поверхность шара 5, центр которого находится в точке О, а центр окружности, по которой секущая плоскость пересекает поверхность шара, 1 в точке Q. При этом радиус этой окружности равен q?p? = QP, им нужно провести дугу из центра Q до встречи с прямой RM в точке N (MN = mn);

    6) соответственно от пересечения секущей плоскости с поверхностью цилиндра 6 должна получиться дуга эллипса BE. Здесь цилиндры 1 и 6 имеют общую ось, вследствие чего у обоих эллипсов один и тот же центр находится в точке F;

    7) линия пересечения переходит в точке Е на поверхность конуса 7, тогда наклон секущей плоскости по отношению к основанию конуса оказывается больше наклона образующей. Следовательно, мы получаем гиперболу с вершиной в точке Н, а слева от горизонтальной проекции на рисунке 110 построен натуральный вид этого сечения.

    Лекция № 12. Следы прямой на поверхности геометрических тел

    1. Пирамида

    Чтобы найти следы прямой на поверхности некоторого геометрического тела, нужно провести через прямую вспомогательную плоскость, затем найти сечение поверхности тела этой плоскостью. Искомыми будут точки пересечения найденного сечения и данной прямой (рис. 111).

    Для нахождения точек М и N, в которых прямая I встречает поверхность пирамиды, проделаем следующее.

    1. Через данную прямую I нужно провести фронтальнопроектирующую плоскость Р.


    2. Затем найти точки А1, В1 и С1, в которых ребра пирамиды встречают плоскость Р. Вследствие этого получим треугольник сечения поверхности пирамиды плоскостью Р.

    Прямая I и треугольник А1В1С1 лежат в одной и той же плоскости Р, поэтому точки М и N пересечения прямой I со сторонами треугольника А1В1С1 являются искомыми.

    2. Конус

    Пусть нужно найти точки М и N, в которых прямая I встречает поверхность конуса. Для этого рассмотрим рисунке 112, на котором показано нахождение следов прямой на поверхности конуса. Через вершину S и данную прямую I проводят плоскость Р, что показано на рисунке 112, б, причем плоскость Р будет пересекать конус по двум образующим: AS и BS. Упомянутые образующие встретят данную прямую в искомых точках М и N. Тогда найдём проекции точек пересечения (рис. 112, а):


    1) плоскость Р определяется точкой S и прямой I, тогда найдем ее след Рh. При этом одна точка следа Ph определяется следом h1 прямой I. Вторая точка искомого следа Ph находится путем проведения в плоскости Р произвольной прямой до встречи с горизонтальной плоскостью. С этой целью соединим точку S с любой точкой С этой прямой и найдем след h2 прямой SC. Прямая, соединяющая точки h1 и h2, будет представлять собой след Ph;

    2) затем нужно приступать к нахождению горизонтальных проекций а и b точек пересечения А и В следа Ph с окружностью основания конуса;

    3) после этого проводят горизонтальные проекции as и bs, образующих AS и BS, причем их фронтальные проекции не нужны;

    4) далее отмечают точки пересечения m и n горизонтальных проекций образующих as и bs с горизонтальной проекцией данной прямой, они будут горизонтальными проекциями искомых точек М и N;

    5) в заключение остается найти фронтальные проекции m? и n? на фронтальной проекции I? данной прямой.

    Лекция № 13. Пространственные линии

    1. Цилиндрическая винтовая линия

    Образование винтовой линии. Рассмотрим рисунок 113а на нем точка М двигается равномерно по некоторой окружности, которая представляет собой сечение круглого цилиндра плоскостью Р. Здесь эта плоскость перпендикулярна его оси.

    Допустим, что и сама окружность движется равномерно вверх или вниз по поверхности цилиндра. При этом плоскость Р, которая содержит окружность, будет оставаться всё время параллельной самой себе. Пять различных положений плоскости, которая содержит движущуюся точку, показаны на рисунке 113 б.

    Вследствие этих двух равномерных движений данная точка М пройдет некоторую пространственную кривую М1М2М3М4М5. На рисунке 113в показана эта линия, которая располагается на поверхности цилиндра и носит название цилиндрической винтовой линии. Она не может быть совмещена с плоскостью. На рисунке 113 г показано наглядное представление о винтовой линии, которое дает пружина.

    Особое внимание следует уделить рассмотрению способности линии перемещаться по самой себе. Прямая линия и окружность обладают способностью перемещаться по самим себе, вследствие чего цилиндрическая винтовая линия также может перемещаться по самой себе. Например, завинчивая металлический винт в специально приготовленное для него отверстие, мы наблюдаем скольжение одной винтовой поверхности по другой.

    Шаг винтовой линии. Точка, сделав полный оборот вокруг цилиндра, будет подниматься вверх или опускаться вниз на некоторое расстояние, которое будет одним и тем же для каждого полного оборота точки (рис. 114). Шагом винтовой линии называется подъем точки за один оборот. Витком называется часть винтовой линии, которая описывается точкой за один оборот.

    Правая и левая винтовые линии. На рисунке 114 будем рассматривать цилиндр со стороны основания в то время, когда точка, перемещаясь по винтовой линии, будет удаляться от наблюдателя. Вероятны два случая: движение по часовой стрелке или против неё. Если движение проходит по часовой стрелке, то будет иметь место правая винтовая линия (рис. 114а), а если против часовой стрелки – левая (рис. 114б). На рисунке 114(а-б) в первом случае видимая часть линии будет подниматься слева направо, а во втором – справа налево.

    Проекции винтовой линии. Одна проекция прямого кругового цилиндра, на котором расположена винтовая линия, является окружностью, а другая – прямоугольником (рис. 114). Нужно построить фронтальную проекцию правой винтовой линии.

    Допустим, движение точки начинается на основании цилиндра в точке 1 (рис. 114). Будем делить шаг винтовой линии и окружность основания на одинаковое число равных частей. На рисунке 114 этих частей 12. За полный оборот точка будет подниматься на величину шага. Следовательно, за 1/12 часть оборота она поднимется на 1/12 часть шага (точка 2).

    Затем следует провести через точки деления шага 1?, 2,…, 12 горизонтальные прямые, а через точки деления окружности 1, 2,…, 12 – вертикальные. Точки фронтальной проекции винтовой линии 1?, 2?,…, 12? будут иметь место в пересечении горизонтальных и вертикальных прямых, которые проходят через деления шага и окружности и имеют одинаковые номера. Эти точки 1?, 2?,…, 12? следует соединить плавной линией, которая будет представлять собой фронтальную проекцию винтовой линии. Этой линией будет синусоида.

    При сравнении фронтальных проекций правой и левой винтовых линий убеждаемся в том, что форма кривой одна и та же, лишь видимая часть правой винтовой линии стала невидимой у левой, и наоборот. Кроме того, изменился порядок нумерации точек деления окружности на горизонтальной проекции. Для правой винтовой линии номера точек будут возрастать по часовой стрелке, а для левой будут убывать против часовой стрелки.

    Развертка поверхности цилиндра с нанесённой на ней винтовой линией. Если развернуть на плоскость боковую поверхность цилиндра с нанесенной на ней винтовой линией, то винтовая линия предстанет в виде прямой линии (рис. 115), поскольку величина подъема точки пропорциональна ее перемещению вдоль окружности.


    В соответствии с этим несложно изготовить модель винтовой линии, нужно только взять прямоугольник с проведенной в нем диагональю и свернуть его в виде цилиндра. При этом диагональ прямоугольника будет образовывать один виток винтовой линии.


    Угол носит название угла подъема винтовой линии, его тангенс выражается формулой:

    2. Два тела вращения

    Метод проведения вспомогательных плоскостей применяется при построении линии пересечения поверхностей двух тел вращения. Суть этого метода заключается в следующем. Проводят вспомогательную плоскость А (рис. 115) таким образом, чтобы каждое из данных тел она пересекала по такой линии, построение которой не является сложным. Строят данные две линии, по которым вспомогательная плоскость пересекает поверхность каждого из тел, а точки пересечения этих линий относятся к искомой линии пересечения данных поверхностей. Следовательно, важно подобающим образом провести вспомогательную плоскость.


    Лучше всего начинать построение с нахождения характерных точек, к которым главным образом относятся точки, отделяющие видимую часть линии от невидимой на каждой проекции. Характерными точками могут быть и самая верхняя точка линии, и самая нижняя, и самая передняя, и самая задняя и т. д. После установления всех характерных точек и указания достаточного количества промежуточных, проводят линию, которая соединяет эти точки.

    Лекция № 14. Сечения и разрезы

    1. Сечения

    Существуют некоторые определения и правила, которые относятся к сечениям.

    Сечение – это плоская фигура, которая была получена в результате пересечения данного тела некоторой секущей плоскостью. При этом след секущей плоскости проводится штрихпунктирной линией. Выбирая такое направление секущих плоскостей, лучше избегать косых сечений, чтобы получались нормальные поперечные сечения тела.

    Площадь сечения покрывается штриховкой, причем линии штриховки должны составлять угол в 45° с осевыми линиями или с основными линиями контура. Здесь же наклон и расстояния между линиями должны сохраняться неизменными, а штриховка различных сечений одного и того же тела должна выполняться одинаково. Толщина линий штриховки не должна превышать одной четверти толщины линии контура, т. е. b/4 и менее. При этом заштрихованное сечение не должно бросаться в глаза толщиной линий штриховки или чрезмерной их густотой. В том случае, если осевая линия детали или линия ее контура расположена под углом 45° к осевой линии, принятой за основную на данном чертеже, штриховку выполняют под углом 30° или 60° к основной осевой линии чертежа.

    На рисунке 116 показано, что контур детали и контур вынесенного сечения имеют одинаковую толщину: а) расположение вынесенного сечения на продолжении следа секущей плоскости; б) вынесенное сечение, расположенное на произвольном месте чертежа, сопровождается соответствующей подписью.

    Сечения бывают вынесенными (рис. 116) и наложенными (рис. 117а). Рекомендуется выполнять вынесенные сечения, а наложенные не рекомендуются.

    Контур вынесенного сечения и контур самой детали должны иметь одинаковую толщину b.


    Вынесенные сечения должны располагаться на продолжении следа секущей плоскости (рис. 117а). Это сечение может быть расположено в разрыве между частями одного и того же вида. Данное сечение допускается располагать в произвольном месте чертежа (рис. 117б), тогда след секущей плоскости отмечается парой одинаковых букв русского алфавита, а над сечением ставится соответствующая надпись (рис. 117б). Если имеется нескольких сечений, то буквы следует брать в алфавитном порядке без повторений.


    Для несимметричных сечений при совмещении их с плоскостью чертежа нужно:

    1) вращать их слева направо, если след секущей плоскости находится вертикально (рис. 117а);

    2) вращать их на себя, если след секущей плоскости размещен горизонтально.

    Наложенные сечения (рис. 117) обводятся тонкими сплошными линиями, т. е. b/4 и менее, при этом толщина контура наложенного сечения примерно в четыре раза тоньше контура детали.

    2. Разрезы

    Определения и правила, которые относятся к разрезам.

    Разрез – это такое условное изображение предмета, когда его часть, находящаяся между глазом наблюдателя и секущей плоскостью, мысленно удалена, и вычерчивается то, что находится в секущей плоскости и расположено за ней.

    Площадь сечения должна покрываться штриховкой, которая при различных сечениях одного и того же тела выполняется одинаково, а наклон и расстояния между линиями остаются неизменными.

    Классификация разрезов. В зависимости от положения секущей плоскости различают следующие разрезы (рис. 118):

    1) вертикальные, если секущая плоскость вертикальна (вид слева, 118д);

    2) горизонтальные, если секущая плоскость горизонтальна (план, 118в);

    3) наклонные, если секущая плоскость наклонена к горизонтальной плоскости.

    Вертикальные разрезы следует располагать соответственно на месте главного вида, вида слева и вида справа, а горизонтальные разрезы – на месте вида сверху и вида снизу (рис. 118).

    Разрезы, выполняемые при изображении данного предмета, не зависят один от другого, все эти разрезы выполняются независимо друг от друга. Представляемые действия, которые мы выполняем для получения разреза на одной проекции, никак не отражаются на другой проекции.

    Симметричные проекции. Если разрез является симметричной фигурой, то можно вместо целого разреза вычерчивать несколько более его половины. Если изображаемый предмет проецируется в виде симметричной фигуры, тогда вполне возможно соединить половину внешнего вида с половиной разреза. При этом разрез помещают справа от вертикальной оси симметрии или под горизонтальной осью.


    Осевая линия должна служить разделом между половиной внешнего вида и половиной разреза. Если сделать ее сплошной это будет грубой ошибкой. Толщина штрихпунктирной линии должна составлять b/4 и менее.

    Внутренние линии, выявленные на разрезе, не повторяют штриховой линией на симметричной половине проекции.

    Также избегают лишние штриховые линии, не делают бесполезных разрезов.

    В случае несимметричной проекции нельзя соединить половину внешнего вида с половиной разреза.

    Несимметричные проекции. На несимметричных проекциях можно сделать полный разрез, тогда внешний вид тела будет отсутствовать.

    След секущей плоскости. Когда следы секущей плоскости совмещаются с осями симметрии проекций, то нет необходимости в дополнительных обозначениях на чертежах. В случае если след секущей плоскости не совпадает с осью симметрии данного вида, тогда он должен отмечаться утолщенными штрихами в начале и в конце линии разреза. В этом случае штрихи, которые обозначают начало и конец линии разреза, должны заходить за линию контура на 2–3 мм. Штрихи должны обозначаться прописными буквами русского алфавита, и разрезом должна быть сделана соответствующая подпись. При этом буквы выбирают таким образом, что каждая секущая плоскость обозначалась одной и той же буквой у начала и у конца линии разреза.


    Сочетание сечения с разрезом. В случае если при выполнении сечения в секущую плоскость попадает цилиндрическое, коническое, шаровое и подобное круглое отверстие или углубление, то контур отверстия или углубления вычерчивается по типу разреза (рис. 119).

    3. Частичный разрез или вырыв

    Разрез называется полным, если изображаемый предмет рассекается целиком, остальные разрезы называются частичными, или вырывами. На рисунке 120 на виде слева и на плане сделаны полные разрезы. Причем на каждой проекции была соединена половина внешнего вида с половиной разреза. Нет смысла делать полный разрез на главном виде, поскольку нужно было бы напрасно разрезать толщину всего тела. Поэтому на главном виде был сделан частичный разрез (или вырыв). С его помощью стала видна находящаяся слева выемка. Благодаря этому освободилась большая часть проекции тела от ненужной штриховки. Следует иметь в виду, что границы вырыва указываются линией специального вида – линией вырыва, которая не должна совпадать с линией контура или быть ее продолжением.


    Частичный разрез симметричных фигур. В случае, если на оси симметрии проекции находится контурная линия, нельзя около этой оси симметрии соединять половину внешнего вида с половиной разреза (рис. 121а), тогда часть внешнего вида отделяется от разреза линией вырыва (рис. 121б).


    Если соединить половину вида с половиной разреза (рис. 121а), то такой чертеж может привести к недоразумениям, поскольку непонятно, относится эта контурная линия к внешнему виду или к внутренней полости. Здесь нужно соединить часть вида с частичным разрезом (рис. 121б) или расположить разрезы на нижних половинах проекций.


    На рисунке 121. Нельзя соединять половину внешнего вида с половиной разреза около оси симметрии, если на ней имеется контурная линия (а). В этом случае надо часть внешнего вида соединить с частичным разрезом (б).


    Отсутствие линии вырыва. В отдельных случаях, при выполнении частичного разреза, можно не проводить линию вырыва, а ограничиться лишь штриховкой разрезанной части (рис. 123).

    4. Простые и сложные разрезы

    Разрезы различают в зависимости от числа секущих плоскостей, при помощи которых получается разрез на данной проекции. Они бывают:

    1) простыми, когда имеется только одна секущая плоскость;

    2) сложными, когда имеются две или более секущие плоскости, которые совмещаются с данной плоскостью проекций.

    Ступенчатым называется разрез в том случае, если сложный разрез получается при помощи параллельных плоскостей.

    На рисунке 122 сложный ступенчатый разрез показан при помощи трёх фронтальных плоскостей.

    Линия разреза. Если след секущей плоскости на сложных разрезах не совпадает с осью симметрии проекции, то он отмечается штрихами в начале, в местах излома и в конце линии разреза (рис. 122). Буквы для обозначения разрезов берут в алфавитном порядке и не допускают их повторения на одном и том же чертеже.

    Наш сайт является помещением библиотеки. На основании Федерального закона Российской федерации "Об авторском и смежных правах" (в ред. Федеральных законов от 19.07.1995 N 110-ФЗ, от 20.07.2004 N 72-ФЗ) копирование, сохранение на жестком диске или иной способ сохранения произведений размещенных на данной библиотеке категорически запрешен. Все материалы представлены исключительно в ознакомительных целях.

    Рейтинг@Mail.ru

    Copyright © UniversalInternetLibrary.ru - читать книги бесплатно